Iklan 300x250

37 john deere f935 parts diagram

PTO Idler, Shaft and Belt Components 50 POWER TRAIN F935 - MOWER, FRONT EPC John Deere online CCE AM100465 Belt Set 24H1327 Washer 31.10.2021 · JOHN DEERE 300 312 314 316 317 318 332 400 420 430 NEUTRAL START SWITCH AM35830 | eBay Use only service parts meeting John Deere specifications. 60-3 Continued on next page JS56696,0000ABD -19-13DEC11-2/3 052912 PN=35 Page 1 and 2: John Deere Machine Sync *OMPFP12443 Feb 09, 2019 · John Deere L130 Wiring Diagram. Of Terminals: 2 - Safety switch - …

Enter a john deere model or pin number. Call us at 855 669 7278 john deere f935 front mower parts 72 mower deck quick reference guide. Air cleaner 010001 130726. F935 front mower f935 mower front epc john deere online advisor sale parts diagram catalog. View maintenance parts to learn more.

John deere f935 parts diagram

John deere f935 parts diagram

CALL US AT (855) 669-7278. John Deere F935 Front Mower Parts 72 Mower Deck Quick Reference Guide. Click the part number below to view and order John Deere F935 Front Mower Parts 72 Mower Deck, or search illustrated diagrams to determine the part you need. John Deere AG, Lawn & Garden and CWP Equipment Parts Search. John Deere parts lookup tool and diagram is an incredible online source. It is a complete catalog that shows you detailed parts diagrams of every part of your machine. This online parts catalog is robust and easy to use. Searching for your John Deere parts online has never been easier. service parts kits. Section 10, Group 15—Repair Specifications, consist of all applicable specifications, near tolerances and specific torque values for various components on each individual machine. Binders, binder labels, and tab sets can be ordered by John Deere dealers direct from the John Deere Distribution Service Center.

John deere f935 parts diagram. Some of the parts available for your John Deere F935 include Electrical & Gauges, Hay Tool, Lawn and Garden and Specialty Belts, Radiator & Cooling System, Rear ... 33 3 13 14 5 6 1 10, 12 15 16 2 4 7 9, 11 8 f915 / f925 / f935 front mowers 1990 model (s.n. m0f915x010001—100000) 1991 model (s.n. m0f915x100001—110000) 1992 ... Shop John Deere F935 Front Mower Parts - Using Quick Parts Reference Guide or Parts Illustrated Diagrams - Same Day & $4.99 Flat Rate Shipping! JOHN DEERE X304 LAWN TRACTOR Service Repair Workshop Manual provides step-by-step Find parts & diagrams for your John Deere equipment. serial John. john deere wiring diagram download in 1445, image source: codecookbook. Notice: Every attempt is made to ensure the data listed is accurate. Manual Contains Illustrations, instructions, diagrams for ...

Buy Genuine OEM John Deere Parts. Search huge inventory of Tractor Parts, Lawnmower Parts, Blower Parts, Engine Parts and ship it Today! John deere f935 parts diagram. Click here for 60 inch side discharge mower deck parts for f935. The f935 ztrak front mower was produced with standard features including the three cylinder 22 hp yanmar diesel engine hydrostatic transmission hydrostatic steering 33 qt engine oil capacity and a 60 or 72 mower deck. F935 front mower f935 mower ... John deere kawasaki igniter test. John deere kawasaki igniter test John Deere Complete Replacement Seat Assembly - AM102953. (16) $159.40. Usually available. Add to Cart. Quick View. John Deere Coolant Temperature Switch - CH15516. (0) $19.70.

John deere f935 parts diagram. Genuine john deere parts are specifically designed to maximize performance and maintain emissions compliance. Huge in stock inventory of oem john deere parts. This quick parts reference guide will provide you with the most common john deere f935 front mower parts 72 mower deck. John Deere F935 Front Mower Parts including mower blades, deck belt, oil and air filter along with Parts Look-up Diagrams/Schematics. Search and buy parts for your John Deere equipment including ag parts, lawn mower parts, maintenance parts, and more. Search our parts catalog, ...‎Lawn Mower Parts · ‎Maintenance Parts · ‎Remanufactured Parts... · ‎Recalls Need help finding parts. The f935 ztrak front mower was produced with standard features including the three cylinder 22 hp yanmar diesel engine hydrostatic transmission hydrostatic steering 33 qt engine oil capacity and a 60 or 72 mower deck. Call us at 855 669 7278. Pre owned john deere.

Vent In Hydro Site Glass Tubing Filter Or Not Garden Tractor Forums

Vent In Hydro Site Glass Tubing Filter Or Not Garden Tractor Forums

service parts kits. Section 10, Group 15—Repair Specifications, consist of all applicable specifications, near tolerances and specific torque values for various components on each individual machine. Binders, binder labels, and tab sets can be ordered by John Deere dealers direct from the John Deere Distribution Service Center.

John Deere 1445 Front Mower Parts

John Deere 1445 Front Mower Parts

John Deere AG, Lawn & Garden and CWP Equipment Parts Search. John Deere parts lookup tool and diagram is an incredible online source. It is a complete catalog that shows you detailed parts diagrams of every part of your machine. This online parts catalog is robust and easy to use. Searching for your John Deere parts online has never been easier.

John Deere F935 Problems My Tractor Forum

John Deere F935 Problems My Tractor Forum

CALL US AT (855) 669-7278. John Deere F935 Front Mower Parts 72 Mower Deck Quick Reference Guide. Click the part number below to view and order John Deere F935 Front Mower Parts 72 Mower Deck, or search illustrated diagrams to determine the part you need.

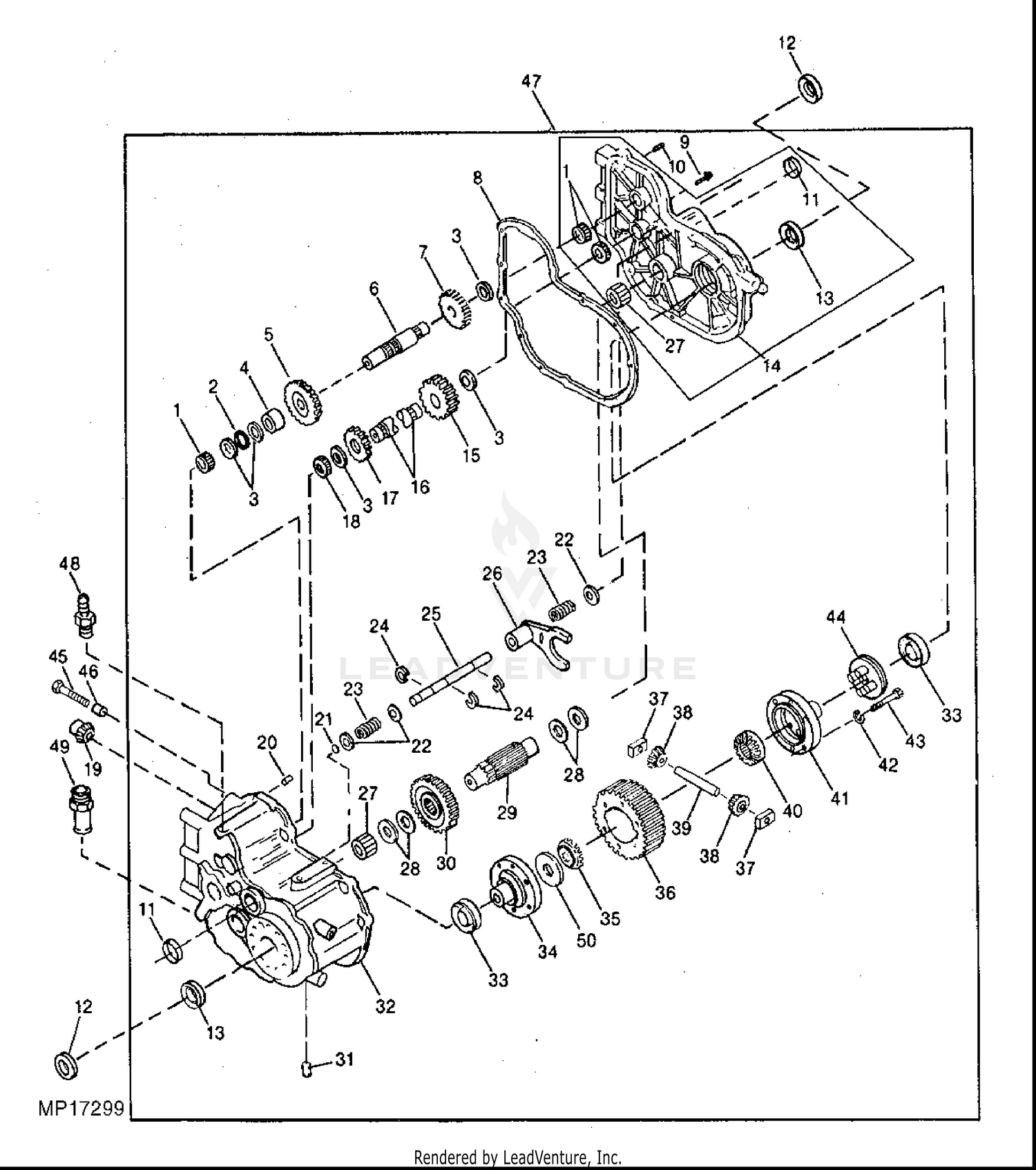
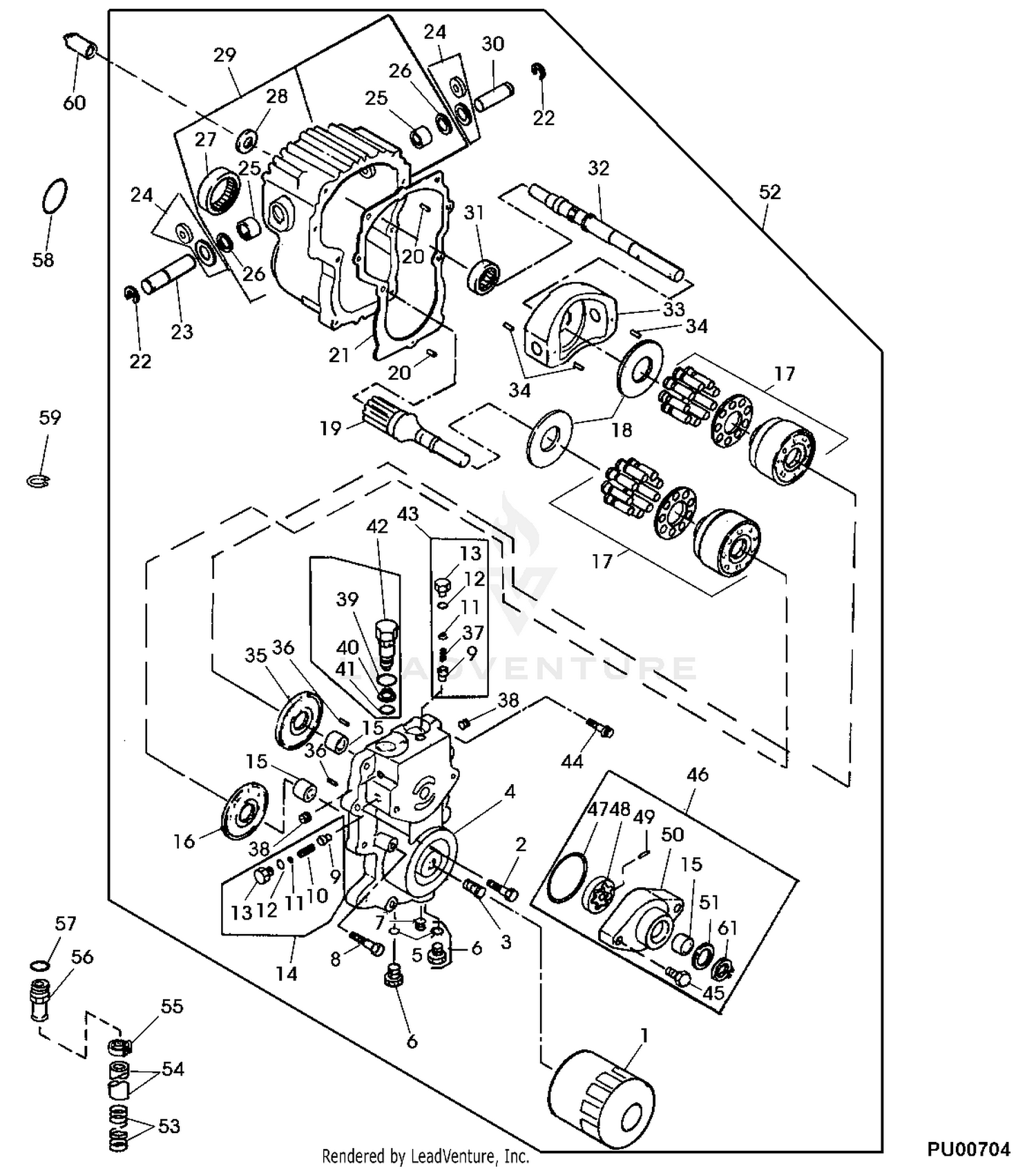
John Deere F935 Front Mowers F935 Front Mower Pc10379 1986 Model M0f935x360001 420000 F935 Front Mowers F935 Front Mower Pc10379 1987 Model M0f935x420001 475000 F935 Front Mowers F935 Front Mower Pc10379 1988 Model M0f935x475001 595000

John Deere F935 Front Mowers F935 Front Mower Pc10379 1986 Model M0f935x360001 420000 F935 Front Mowers F935 Front Mower Pc10379 1987 Model M0f935x420001 475000 F935 Front Mowers F935 Front Mower Pc10379 1988 Model M0f935x475001 595000

John Deere F935 Front Mowers F935 Front Mower Pc10379 1986 Model M0f935x360001 420000 F935 Front Mowers F935 Front Mower Pc10379 1987 Model M0f935x420001 475000 F935 Front Mowers F935 Front Mower Pc10379 1988 Model M0f935x475001 595000

John Deere F935 Front Mowers F935 Front Mower Pc10379 1986 Model M0f935x360001 420000 F935 Front Mowers F935 Front Mower Pc10379 1987 Model M0f935x420001 475000 F935 Front Mowers F935 Front Mower Pc10379 1988 Model M0f935x475001 595000

John Deere Front Mower F911 F915 F925 F932 F935 Technical Manual Jd Tm1487 Book Finney Equipment And Parts

John Deere Front Mower F911 F915 F925 F932 F935 Technical Manual Jd Tm1487 Book Finney Equipment And Parts

1

1

Jd F915 Garden Tractor Forums

Jd F915 Garden Tractor Forums

Home Garden John Deere 322 330 332 1445 1420 F912 F915 F925 F932 F935 Driveshaft Isolator Yard Garden Outdoor Living

Home Garden John Deere 322 330 332 1445 1420 F912 F915 F925 F932 F935 Driveshaft Isolator Yard Garden Outdoor Living

Drive Frame A18 Material Collection System John Deere F935 Material Collection System 348h 349h Hydr High Dump Mcs F935 F1145 Cargo Box 100 Hydr High Dump Material Collection System

Drive Frame A18 Material Collection System John Deere F935 Material Collection System 348h 349h Hydr High Dump Mcs F935 F1145 Cargo Box 100 Hydr High Dump Material Collection System

John Deere Replacement Mower Decks

John Deere Replacement Mower Decks

John Deere F911 F915 F925 F932 F935 Mowers Service Technical Manual

John Deere F911 F915 F925 F932 F935 Mowers Service Technical Manual

Drive Frame A14 Material Collection System John Deere F935 Material Collection System 348h 349h Hydr High Dump Mcs F935 F1145 Cargo Box 100 Hydr High Dump Material Collection System

Drive Frame A14 Material Collection System John Deere F935 Material Collection System 348h 349h Hydr High Dump Mcs F935 F1145 Cargo Box 100 Hydr High Dump Material Collection System

John Deere F912 F915 And F935 Front Mower Repair Technical Manual Service Repair Manual

John Deere F912 F915 And F935 Front Mower Repair Technical Manual Service Repair Manual

Gear Case F18 Broom Rotary John Deere 60 Broom Rotary 26 246 60 And 51 Inch Rotary Brooms 105 246 Rotary Broom F910 F911 F912 F915 F925 F930 F932 F935 And F1145 Front Mowers Gear Case F18 777parts

Gear Case F18 Broom Rotary John Deere 60 Broom Rotary 26 246 60 And 51 Inch Rotary Brooms 105 246 Rotary Broom F910 F911 F912 F915 F925 F930 F932 F935 And F1145 Front Mowers Gear Case F18 777parts

John Deere F911 F915 F925 F932 F935 Front Mower Service Repair Manual Printed 26 99 Picclick Uk

John Deere F911 F915 F925 F932 F935 Front Mower Service Repair Manual Printed 26 99 Picclick Uk

F935 Mower Front Rear Axle Epc John Deere Am133073 Cce Online Avs Parts

F935 Mower Front Rear Axle Epc John Deere Am133073 Cce Online Avs Parts

John Deere F935 Problems My Tractor Forum

John Deere F935 Problems My Tractor Forum

John Deere F915 F935 Front Mower Technical Manual Tm1350 For Sale Online Ebay

John Deere F915 F935 Front Mower Technical Manual Tm1350 For Sale Online Ebay

John Deere F935 Front Mowers F935 Front Mower Pc10379 1986 Model M0f935x360001 420000 F935 Front Mowers F935 Front Mower Pc10379 1987 Model M0f935x420001 475000 F935 Front Mowers F935 Front Mower Pc10379 1988 Model M0f935x475001 595000

John Deere F935 Front Mowers F935 Front Mower Pc10379 1986 Model M0f935x360001 420000 F935 Front Mowers F935 Front Mower Pc10379 1987 Model M0f935x420001 475000 F935 Front Mowers F935 Front Mower Pc10379 1988 Model M0f935x475001 595000

F935 Mower Front Pto Linkage Sn 360001 750000 010001 150000 Epc John Deere R52056 Cce Online Avs Parts

F935 Mower Front Pto Linkage Sn 360001 750000 010001 150000 Epc John Deere R52056 Cce Online Avs Parts

Yard Garden Outdoor Living Lawn Mowers Parts Accessories Lawn Mower Parts John Deere F935 Time Delay Relay Control Module Am102890 For Sale Online

Yard Garden Outdoor Living Lawn Mowers Parts Accessories Lawn Mower Parts John Deere F935 Time Delay Relay Control Module Am102890 For Sale Online

Just Recently Purchased Second Hand F935 Deere Mower Everything Was Fine Until After An Hour It Struggled With Power And

Just Recently Purchased Second Hand F935 Deere Mower Everything Was Fine Until After An Hour It Struggled With Power And

Research Unir Net Service Manual John Deere F912 F915 And F935 Front Mower Repair Download Business Office Industrial Equipment Manuals Books

Research Unir Net Service Manual John Deere F912 F915 And F935 Front Mower Repair Download Business Office Industrial Equipment Manuals Books

John Deere F935 Front Mowers F935 Front Mower Pc10379 1986 Model M0f935x360001 420000 F935 Front Mowers F935 Front Mower Pc10379 1987 Model M0f935x420001 475000 F935 Front Mowers F935 Front Mower Pc10379 1988 Model M0f935x475001 595000

John Deere F935 Front Mowers F935 Front Mower Pc10379 1986 Model M0f935x360001 420000 F935 Front Mowers F935 Front Mower Pc10379 1987 Model M0f935x420001 475000 F935 Front Mowers F935 Front Mower Pc10379 1988 Model M0f935x475001 595000

John Deere F935 Front Mowers F935 Front Mower Pc10379 1986 Model M0f935x360001 420000 F935 Front Mowers F935 Front Mower Pc10379 1987 Model M0f935x420001 475000 F935 Front Mowers F935 Front Mower Pc10379 1988 Model M0f935x475001 595000

John Deere F935 Front Mowers F935 Front Mower Pc10379 1986 Model M0f935x360001 420000 F935 Front Mowers F935 Front Mower Pc10379 1987 Model M0f935x420001 475000 F935 Front Mowers F935 Front Mower Pc10379 1988 Model M0f935x475001 595000

Drive Frame A16 Material Collection System John Deere F1145 Material Collection System 348h 349h Hydr High Dump Mcs F935 F1145 Cargo Box 100 Hydr High Dump Material Collection System

Drive Frame A16 Material Collection System John Deere F1145 Material Collection System 348h 349h Hydr High Dump Mcs F935 F1145 Cargo Box 100 Hydr High Dump Material Collection System

John Deere F935 Front Mower Service Manual Download John Deere Tractors

John Deere F935 Front Mower Service Manual Download John Deere Tractors

My Deere F935 With A Yanmar Diesel Engine Stalled And Wont Restart I Can Get It To Start With Wd40 But It Wont Stay

My Deere F935 With A Yanmar Diesel Engine Stalled And Wont Restart I Can Get It To Start With Wd40 But It Wont Stay

Green Parts Direct Com

Green Parts Direct Com

John Deere 955 Not Getting Fuel Past Injection Pump Tractorbynet

John Deere 955 Not Getting Fuel Past Injection Pump Tractorbynet

1

1

Pin On Backhoe Loaders Technical Repair Service Manuals

Pin On Backhoe Loaders Technical Repair Service Manuals

1352336 Sensor Temperature Caterpillar Spare Part 777parts

1352336 Sensor Temperature Caterpillar Spare Part 777parts

John Deere F935 Mower Front Mount Deck Category

John Deere F935 Mower Front Mount Deck Category

Bm18123 Kit Bm18123 John Deere Spare Part 777parts

Bm18123 Kit Bm18123 John Deere Spare Part 777parts

John Deere F935 Front Mowers F935 Front Mower Pc10379 1986 Model M0f935x360001 420000 F935 Front Mowers F935 Front Mower Pc10379 1987 Model M0f935x420001 475000 F935 Front Mowers F935 Front Mower Pc10379 1988 Model M0f935x475001 595000

John Deere F935 Front Mowers F935 Front Mower Pc10379 1986 Model M0f935x360001 420000 F935 Front Mowers F935 Front Mower Pc10379 1987 Model M0f935x420001 475000 F935 Front Mowers F935 Front Mower Pc10379 1988 Model M0f935x475001 595000

0 Response to "37 john deere f935 parts diagram"

Post a Comment

Iklan Atas Artikel

Iklan Tengah Artikel 1

Iklan Tengah Artikel 2

Iklan Bawah Artikel