39 cub cadet ltx 1040 deck diagram
Cub Cadet LTX Diagrams and Manuals. Shop for Cub Cadet LTX Parts. Factory Direct from Cub Cadet. I need a wiring diagram to see if a I have a switch or something between the battery and the switch (Posted by jhyel42 2 years ago). Cub Cadet LTX Question about LTX Deck Belt Only OCCA. 1 Answer Where can I find a wiring diagram for a cub cadet ... 5cf38 92 Subaru Legacy Wiring Diagram Digital Resources. Wiring Diagram For Cub Cadet Sltx 1054 Wiring Schematic Diagram. Cub Cadet Ltx 1045 Mower Deck Diagram Wiring Diagram. Amazon Com Cub Cadet Ltx1040 Deck Belt For Specific 2009 Models. Cub Cadet Ltx1042 Tractor 2009 13ax91ar010 Wiring Schematic.
Mower Deck 42-inch diagram and repair parts lookup for Cub Cadet LTX 1040 (13WX90AS056) - Cub Cadet 42" Lawn Tractor (2011) Order Status Customer Support 512-288-4355 My Account Login to your PartsTree.com to view your saved list of equipment.

Cub cadet ltx 1040 deck diagram
CUB CADET 19A30031100 Double Bagger 42" 46" Deck LTX 1040 1042 1045 1046 XT1 XT2 3.6 out of 5 stars 6 Pro-Parts 946-04618C 746-04618 290-651 Deck Engagement Cable for MTD 1040 1045 LTX1040 LTX1042 LTX1045 LTX1046 LTX1050H Troy Bilt TB2246 Cub Cadet Lawn Mower Cub Cadet Parts Diagrams, Cub Cadet LTX1040 Tractor (2011) 13WX90AS009 (2011) 13WX90AS010 (2011) 13WX90AS056 (2011) 13WX90AS210 (2011) 13WX90AS256 (2011) ... Mower Deck 42-inch Seat, Fender & Lift. Steering. Transmission. Let us help you. Your Account; Quick Order Pad; Shipping Rates and Policies ... Cub Cadet 19A30046100 Xtreme Mulching Kit 42" Deck Xt1-lt42e Zt1-42e Lawn Mowers. $77.00 New. Cub Cadet 618-0624 Lawn Tractor Spindle Assembly. 4.5 out of 5 stars. (99) Total Ratings 99, $30.50 New. Cub Cadet 19A30043100 42"-46" Deck Leaf Collector. $472.44 New.
Cub cadet ltx 1040 deck diagram. Cub Cadet Ltx 1040 Deck Belt Diagram. 12 Jun 2018 Jessica. Displaying Mower Deck 42-inch parts for the Cub Cadet LTX1040 Tractor. Cub Cadet 983-04598A-4021 (replaces 983-04598-4021). .. Bracket, Guard, Belt. PartsTree.com – Order Genuine Cub Cadet Parts for the Cub Cadet LTX1040 Tractor (2014) Mowers: lawn & garden tractor. Pro-Parts 946-04618C 746-04618 290-651 Deck Engagement Cable for MTD 1040 1045 LTX1040 LTX1042 LTX1045 LTX1046 LTX1050H Troy Bilt TB2246 Cub Cadet Lawn Mower 4.4 out of 5 stars 53 $11.69 $ 11 . 69 I have a 2013 Cub LTX-1040 ( 13WX90AS010). I got this for a decent price PROBABLY because it had some issues. It needed Belts, a Battery and Blades. I got all handled with ease. From what I can tell all my pulleys move free and are in decent condition, the belts at good tension from what I read online and what Cubs online tech told me. Now I am ... The mower deck on the Cub Cadet LTX1040 has a cutting width of 42 inches. Rather than one large blade, the LTX 1040 has 2 smaller one which cut through the grass much more efficiently. As well as cutting your lawn, this Cub Cadet lawnmower also has a lot of other uses. You can attach a snow blower to the front of it to clear your driveway of ...
Cub Cadet Ltx 1050 Deck Diagram. Try this diagramweb.net Displaying Quick Reference LTX parts for the Cub Cadet LTXKH . Cub Cadet Drive Belt. (Hydro Gear Transmission). More details. Lawn Mower Cub Cadet LTX/KW Illustrated Parts Manual Assembly & Set -Up Contents of Crate • One Lawn Tractor • One Oil Drain Tube • One After the Engaging ... Cub Cadet LTX1040 (13WX90AS010, 13WX90AS056, 13WX90AS009, 13AX90) (2012) Tractor Parts I just bought a used LTX 1040 (2012). The guy said he put on a new belt. When I got home and started cutting the front yard the belt smoked and I found out it was put on backwards. I bought a new belt at the Cub Cadet dealer and put it on. It is a manual lever to engage the blades. The belt is loose when the lever is fully engaged. Page 1 Lawn Tractor — LTX 1040 CUB CADET LLC, P.O. BOX 361131 CLEVELAND, OHIO 44136-0019 Printed In USA Form No. 769-04587 (July 29, 2009) ; Page 2: Steering & Front Axle Assembly Steering & Front Axle Assembly... Page 3 Steering & Front Axle Assembly Ref. Part Number Description 731-04532B Steering Wheel Cover 710-04484 Hex Washer Screw, 5⁄16-18 x .750 936-3004 Flat Washer, .406 x .875 x ...
Cub Cadet Parts Diagrams, Cub Cadet LTX1040 Tractor (2009) 13AX90AR009 13AX90AR010 13AX90AR056 13AX90AR256 13RX90AR056 13RX90AR256 .Quick Reference ... Mowing Deck 42 Inch. Seat, Fender & Deck Lift . Steering & Front Axle Assembly. Transmission. Wiring Schematic. Let us help you ... Mower Deck 42-inch diagram and repair parts lookup for Cub Cadet LTX 1040 (13RX90AS056) - Cub Cadet 42" Lawn Tractor (2010) Order Status Customer Support 512-288-4355 My Account Login to your PartsTree.com to view your saved list of equipment. Cub Cadet LTX Diagrams and Manuals. Shop for Cub Cadet LTX1040 Parts. Factory Direct from Cub Cadet. COVID-19 Updates. Ask Our Experts: 515-266-7944 Orders Wholesale Contact Low Prices, Fast Shipping, Guaranteed Service. Cub Cadet LTX1040 Manuals. Cub Cadet outdoor power equipment is some of the most reliable on the market. ... About Press Copyright Contact us Creators Advertise Developers Terms Privacy Policy & Safety How YouTube works Test new features Press Copyright Contact us Creators ...

Cub Cadet Ltx1040 Tractor 2014 13ax90as010 2014 13ax90as056 2014 13ax90as256 2014 13wx90as009 2014 13wx90as010 2014 13wx90as056 2014 13wx90as256 2014 Drive System Shank 39 S Lawn Cub Cadet
Item#: 954-04060C. $41.99. Fits Riding Mowers and Lawn Tractors with a 42-inch Cutting Deck (2010 - ) For Troy-Bilt, MTD, Craftsman, MTD Gold, Bolens, White Outdoor, Yard Machines, Yard Man and Huskee. Fits Cub Cadet LTX1040, LTX1042KH, LTX1042KW.
Cub Cadet 1040 Drive Belt Diagram. 03.09.2018. 03.09.2018. 6 Comments. on Cub Cadet 1040 Drive Belt Diagram. Cub Cadet LTX Diagrams and Manuals. Shop for Cub Cadet LTX Parts. Factory Direct from Cub Cadet. schematron.org - Select Cub Cadet LTX Tractor () Diagrams and order Genuine Cub Cadet Mowers: lawn & garden tractor Parts.
Need to fix your LTX (13WX90AS, 13WX90AS, 13WX90AS, 13AX90) We Sell Only Genuine Cub Cadet ® Parts. Mower Deck Inch. Your LTX model is fit with a professional grade single-cylinder Kohler engine. This mower will start right up and runs up to 5mph. For LTX replacement.The seal cost about $ take the wheel off and don't lose the wheel key slide ...

Cub Cadet Ltx1040 Tractor 2009 13ax90ar009 13ax90ar010 13ax90ar056 13ax90ar256 13rx90ar056 13rx90ar256 Drive System Shank 39 S Lawn Cub Cadet
I have cub cadet LTX 1040 there is a Deck Engage Cable bracket that holds one end of the cable. It threads the bracket - Answered by a verified Technician We use cookies to give you the best possible experience on our website.

Cub Cadet Ltx1040 Tractor 2009 13ax90ar009 13ax90ar010 13ax90ar056 13ax90ar256 13rx90ar056 13rx90ar256 Mowing Deck 42 Inch Shank 39 S Lawn Cub Cadet
Cub Cadet Ltx 1040 Transmission Drive Belt Diagram. Displaying Drive System parts for the Cub Cadet LTX (13AX90AR, 13AX90AR, 13AX90AR, 13AX90AR, Qty: 2. Cub Cadet A (replaces ). V-Belt.

Cub Cadet Ltx1040 Tractor 2010 13ax90as009 2010 13ax90as010 2010 13ax90as209 2010 13rx90as056 2010 13rx90as256 2010 13wx90as009 2010 13wx90as010 2010 13wx90as209 2010 Mower Deck 42 Inch Shank 39 S Lawn Cub Cadet
Cub Cadet LT 1042 Mower deck repair.to stop it from cutting Belts.
Cub Cadet is a premium line of outdoor power equipment, established in 1961 as part of International Harvester. During the 1960s, IH initiated an entirely new line of lawn and garden equipment aimed at the owners rural homes with large yards and private gardens.
Find parts for your LTX1040 Cub Cadet Riding Lawn Mower. Parts diagrams and manuals available. Free shipping on parts orders over $45. ... Riding Mower 42-inch Deck Belt. Item#: 954-04060C. $41.99 ... Cub Cadet Utility Vehicles (UTV) are intended for off-road use by adults only. Please see the operator's manual and the warning labels posted ...
Sep 22, 2018 · Cub Cadet Ltx 1040 Mower Deck Diagram. Cub Cadet LTX Lawn Tractor Parts Available For Quick Shipment | Cub Cadet Original Parts. Go To Cub Cadet Parts Diagrams. LTX Tractor. I did a sample search for generic riding mower deck and found great diagram of belt routing. Give it a try jelly bean you will find same results.
Cub Cadet LTX1040 Parts. Select Your Model Below. LTX1040 Tractor (2009) 13AX90AR009 13AX90AR010 13AX90AR056 13AX90AR256 13RX90AR056 13RX90AR256; LTX1040 Tractor (2010) 13AX90AS009 (2010) 13AX90AS010 (2010) 13AX90AS209 (2010) 13RX90AS056 (2010) 13RX90AS256 (2010) 13WX90AS009 (2010) 13WX90AS010 (2010) 13WX90AS209 (2010)
Jul 20, 2017. #1. Hello, I took apart my Cub Cadet LTX 1045's deck and in doing so removed the springs, and I cannot remember where they go. If someone could please explain, or maybe us MS-Paint to draw lines where these springs rightfully belong, I would be very thankful. I have attached 3 images, one of the deck, and two of the respective ...
Cub Cadet 19A30046100 Xtreme Mulching Kit 42" Deck Xt1-lt42e Zt1-42e Lawn Mowers. $77.00 New. Cub Cadet 618-0624 Lawn Tractor Spindle Assembly. 4.5 out of 5 stars. (99) Total Ratings 99, $30.50 New. Cub Cadet 19A30043100 42"-46" Deck Leaf Collector. $472.44 New.

Cub Cadet Ltx 1040 13ax90ar010 Cub Cadet 42 Lawn Tractor Wiring Schematic Parts Lookup With Diagrams Partstree
Cub Cadet Parts Diagrams, Cub Cadet LTX1040 Tractor (2011) 13WX90AS009 (2011) 13WX90AS010 (2011) 13WX90AS056 (2011) 13WX90AS210 (2011) 13WX90AS256 (2011) ... Mower Deck 42-inch Seat, Fender & Lift. Steering. Transmission. Let us help you. Your Account; Quick Order Pad; Shipping Rates and Policies ...
CUB CADET 19A30031100 Double Bagger 42" 46" Deck LTX 1040 1042 1045 1046 XT1 XT2 3.6 out of 5 stars 6 Pro-Parts 946-04618C 746-04618 290-651 Deck Engagement Cable for MTD 1040 1045 LTX1040 LTX1042 LTX1045 LTX1046 LTX1050H Troy Bilt TB2246 Cub Cadet Lawn Mower
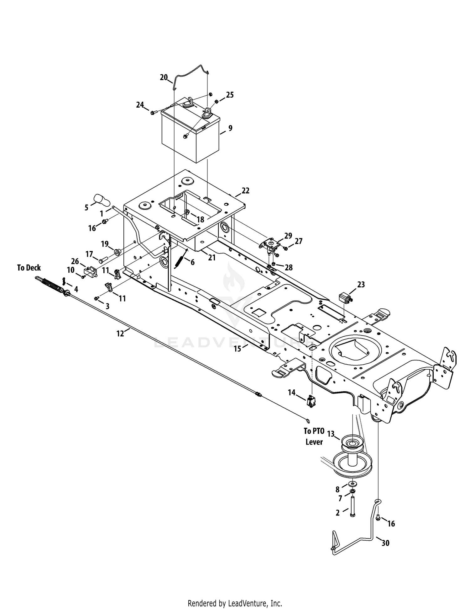
Cub Cadet Ltx1040 Tractor 2012 13ax90as010 2012 13ax90as056 2012 13ax90as210 2012 13wx90as009 2012 13wx90as010 2012 13wx90as056 2012 13wx90as210 2012 13wx90as256 2012 Frame Electrical Pto
Cub Cadet Ltx1040 Tractor 2013 13ax90as056 2013 13ax90as256 2013 13wx90as009 2013 13wx90as010 2013 13wx90as056 2013 13wx90as256 2013 Mower Deck 42 Inch

I Believe The Transaxle Is Bad On My Ltx 1040 Cub Cadet I Just Replaced The Drive Belt But It Still Jerks And Makes A
0 Response to "39 cub cadet ltx 1040 deck diagram"
Post a Comment