40 john deere 345 engine diagram
The John Deere 345 is a 2WD lawn and garden tractor from the 300 series of the John Deere lawn tractors. The John Deere 345 garden tractor was manufactured in Horicon, Wisconsin, USA from 1995 to 2001. The Kawasaki FD590V V-twin 90° liquid-cooled 4-stroke (585 cc, 35.7 cu-in) vertical engine was used through the 1998 model year, serial number 070000. Zachary Long. Home » Wiring Diagrams » John Deere 345 Schematic. attachmentp. 345 electrical 3. 2012 09 03 deere 425 4452. We collect plenty of pictures about John Deere 345 Schematic. and finally we upload it on our website. Many good image inspirations on our internet are the very best image selection for John Deere 345 Schematic.
John Deere 345 Electrical Schematic. New- Pleasant in order to the weblog, with this occasion We’ll explain to you about john deere 345 electrical schematic. . And today, this can be a initial image: Get Free Image About Wiring Diagram As Well As John Deere Lt150 from john deere 345 electrical schematic , source:diejuxbox.de. John Deere 737 ...
John deere 345 engine diagram
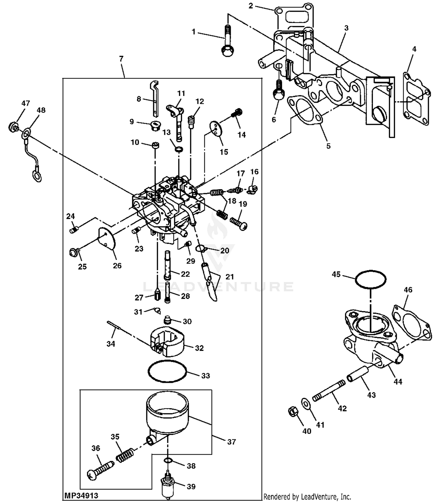
5. Location. Tunkhannock, Pa. Tractor. John Deere 345 Garden Tractor. I.m looking for parts for a 345 J.D. engine rebuild. I understand that it has a Kawasaki engine and thought that the parts would be cheaper from them than from John Deere. The cam broke and I need several parts besides for a complete repair. Description: John Deere 648M Quik Trak Mower Parts intended for John Deere 345 Parts Diagram, image size 410 X 410 px, and to view image details please click the image.. Truly, we have been remarked that john deere 345 parts diagram is being one of the most popular subject at this moment. So we attempted to identify some terrific john deere 345 parts diagram graphic to suit your needs. Buy Genuine OEM John Deere parts for your John Deere GX345 Lawn & Garden Tractor 54-IN Convertible Mower Deck ... CYLINDER HEAD & CRANKCASE: ENGINE AM135052.
John deere 345 engine diagram. John Deere Rear Engine Rider Parts; GreenFunStore John Deere Merchandise & Gifts; John Deere Snow Equipment Parts; TerraGrip Traction Belts; John Deere Tire Chains; ... John Deere 345 Model Number Decal (2 required) - M118872 (0) $9.82. Usually available. Add to Cart. Quick View. John Deere 345 Model Number Decal (2 required) - M135983 (0) John Deere 9.0 L OEM Diesel Engines (Base Engine) Component Technical Manual (CTM400) John Deere 4.5 & 6.8 L Diesel Engines Level 16 Electronic Fuel System with Denso HPCR Technical Manual (CTM502) John Deere 3029, 4039, 4045, 6059, 6068 Engines (Saran) ( -499999CD) Complete Technical Manual (CTM3274) john deere 345 garden tractor, 54" mowing deck, 20hp kohler engine liquid cooled, machine runs and operates as it shoud. very clean unit 892 hours. financing available, we take trades, shipping available* ag pro is your premier equipment dealer in the mid west, call ag pro hilliard today with ... John Deere PARTS LOOKUP. ENGINE-345-FD590V- Parts Diagram. Camshaft And Valves (345) (FD590V) Cylinder Head And Crankcase (345) (FD590V) Engine Gasket Kit (345) (FD590V) Engine Labels (345) (FD590V) Engine Oil Pump and Filter (345) (FD590V) Piston And Crankshaft (345) (FD590V)
John deere 345 wiring diagram john deere 345 wiring diagram within john deere 345 parts diagram image size 445 x 450 px and to view image details please click the image. Replacing the belt was a lot easier than i thought it would be and the only tools needed are a 15 16mm wrench socket and a piece of something to tie off the. John Deere 345 Parts. The John Deere 345 Garden Tractor was produced from 1995 to 2001 offering 44", 48" and 54" mower deck options. It came equipped with Power Steering, hydrostatic drive transmission and 18hp Kawasaki Engine (switching to 20hp Kawasaki with SN 070000 and newer) as standard features. May 14, 2021 - Wireing Diagram for John Deere 345 . Wireing Diagram for John Deere 345 . 4726 John Deere 345 Engine Wiring Schematic. Need A 345 Wiring Diagram Pdf Please. Nd 2800] Wiring Diagram John Deere F525 Also John Deere F525 John Deere Parts Diagrams, John Deere GX345 Garden Tractor. Convertible Mower Deck 42-Inch. Convertible Mower Deck 48-Inch. Convertible Mower Deck 54-Inch. ELECTRICAL. ENGINE AM135052. Front Blade 48-Inch. FUEL AND AIR. Hydraulics.
4 Feb 2019 — If you find any errors or want to comment on the layout of the manual please fill out one of the cards and mail it back to us. Steering—335/345 ... Service Schedule Parts for a John Deere 345 Lawn & Garden Tractor & Parts List. While your John Deere machine is certainly built with quality parts, they have a limited life. Good news is you can easily service your machine yourself using a John Deere maintenance kit or service kits or by getting the specific John Deere part needed to keep your John Deere mower or tractor running for a long time. John Deere 345 Lawn Tractor Parts 54 Mower Deck. NEED HELP FINDING PARTS? CALL US AT (855) 669-7278. John Deere 345 Lawn Tractor Parts for 38 Mower Deck Quick Reference Guide. Click the part number below to view and order John Deere 345 Lawn Tractor Parts for 38 Mower Deck, or search illustrated diagrams to determine the part you need. John Deere 345 Schematic. – Welcome to be able to my weblog, on this period I am going to demonstrate in relation to john deere 345 schematic. . And now, this is actually the first graphic: John Deere Lx176 Wiring Diagram Diagram Base Website Wiring from john deere 345 schematic , source:footdiagram.calabriareport.it.
JOHN DEERE 325-335-345 SERVICE REPAIR MANUAL These are the same type manuals used by mechanics around the nation. The PDF allow you to zoom in for to view detailed parts and then print out any ...
John Deere 345 Lawn Garden Tractors With 44 In Mower Deck Pc2428 1997 Model M00345d040001 055000 345 Lawn Garden Tractors With 44 In Mower Deck Pc2428 1998 Model M00345d055001 070000 345 Lawn Garden
John Deere AG, Lawn & Garden and CWP Equipment Parts Search. John Deere parts lookup tool and diagram is an incredible online source. It is a complete catalog that shows you detailed parts diagrams of every part of your machine. This online parts catalog is robust and easy to use. Searching for your John Deere parts online has never been easier.
John Deere 325 Lawn and Garden Tractors John Deere 345 Lawn and Garden Tractors. Contents as follows: ===== Introduction Safety Specifications and General Information Engine – 325 (FC540V) Engine – 345 (FC590V) Electrical Power Train (Hydrostatic) Steering – 325 Steering – 345 Brakes Hydraulics Attachments Miscellaneous.
John Deere Gx345 Lawn Garden Tractor With 54 In Convertible Mower Deck Pc9078 2002 Model M0g345b105001 110000 Gx345 Lawn Garden Tractor With 54 In Convertible Mower Deck Pc9078 2003 Model M0g345b110001 120000 Gx345 Lawn
I have a deere 345 i am looking for the wiring diagram for the safety switches. the motor starts run good - dies when you - Answered by a verified Technician. We use cookies to give you the best possible experience on our website. ... I have a John Deere 345 with the FD611V engine. After i shut.
John Deere 345 Parts Diagram. john deere 997 z trak mower parts mutton power equipment john deere 997 parts the 997 riding lawn tractor was produced with standard features including 28 5 hp yanmar diesel engine hydraulic steering john deere z915b z trak mower parts fort wayne john deere z915b zero turn mower parts including mower blades deck belt oil and air filter along with parts look up ...
John Deere 345 Parts Diagram Automotive Parts Diagram Images. 2 hours ago Description: John Deere 648M Quik Trak Mower Parts intended for John Deere 345 Parts Diagram, image size 410 X 410 px, and to view image details please click the image..Truly, we have been remarked that john deere 345 parts diagram is being one of the most popular subject at this moment.
John Deere Garden Tractors X495 X595 Electrical Diagram From Tm2024 Auto Repair Software Epc Manual Work Service. John Deere 345 Lawn Garden Tractors With 44 In Mower Deck Pc2428 1997 Model M00345d040001 055000 1998 M00345d055001 070000. John Deere 325 Lawn Garden Tractor Service Repair Manual By 163114103 Issuu. Tech.
John Deere 345 lawn tractor, with Kohler 17 HP liquid cooled engine, starts hard a few months after tune up. This is regardless of temperature. I must keep the throttle nearly closed and inch it up to …
John Deere 345 tractor overview. Mechanical: Chassis: 4x2 2WD: Steering: power: Brakes: wet disc: Cab: Open operator station.
John Deere Gx345 Lawn Garden Tractor With 54 In Convertible Mower Deck Pc9078 2002 Model M0g345b105001 110000 Gx345 Lawn Garden Tractor With 54 In Convertible Mower Deck Pc9078 2003 Model M0g345b110001 120000 Gx345 Lawn
John Deere 345 Engine: 18HP Kawasaki 585cc 2-cyl gasoline: Fuel tank: 3.5 gal 13.2 L: Engine details ... John Deere 345 Transmission: hydrostatic: Transmission details ... Mechanical: ... Lawn and Garden Product Information Handbook published in 1996, by John Deere: Lawn and Garden Product Information Handbook published in 1997, by John Deere:
John Deere 345 Parts Diagrams · Found on Diagram: Belts · BELT. 30192501. BELT 5/8" by 63 3/8" · BELT. 30192504. BELT 5/8" by 120" · BELT. 30192785. BELT 5/8" by 59 ...

I Need To Remove The Crank Case Cover To Get At A Broken From The Water Pump Is The Crank Case Cover Also Attached To
John Deere 345 Lawn and Garden Tractor Technical Manual TM1760. 544 Pages in .pdf format. 46.7 MB in .zip format for super fast downloads! This factory John Deere Service Manual Download will give you complete step-by-step information on repair, servicing, and preventative maintenance for your John Deere. The John Deere Service Manual is highly detailed with photos and illustrations to help ...
John Deere 345 Lawn Garden Tractors With 44 In Mower Deck Pc2428 1997 Model M00345d040001 055000 345 Lawn Garden Tractors With 44 In Mower Deck Pc2428 1998 Model M00345d055001 070000 345 Lawn Garden
345 electrical 3. john deere 40 wiring diagram free data wiring diagram. We collect a lot of pictures about John Deere 345 Electrical Schematic. and finally we upload it on our website. Many good image inspirations on our internet are the very best image selection for John Deere 345 Electrical Schematic. .
Steering Cylinder With Front Wheel Drive Apl 345 25 Tractor John Deere 2750 Tractor 2750 Tractor North American Edition 60 Steering And Brakes 060 Steering Cylinder With Front Wheel Drive Apl 345 25 777parts
john deere 345 parts diagram is probably the photos we found on the web from reliable resources. We tend to discuss this john deere 345 parts diagram pic on this page simply because based on information coming from Google search engine, It is one of many best queries keyword on google.

Amazon Com John Deere Maintenance Kit For 345 Starting W Sn 096210 And A Kawasaki Engine And Gx345 Mowers Lg238 Lawn Mower Parts Patio Lawn Garden
Buy Genuine OEM John Deere parts for your John Deere GX345 Lawn & Garden Tractor 54-IN Convertible Mower Deck ... CYLINDER HEAD & CRANKCASE: ENGINE AM135052.
John Deere Gx345 Lawn Garden Tractor Power Flow Blower Assembly 48c Mower W Quick Tatch Pc9078 2002 Model M00pfck036395 999999 Gx345 Lawn Garden Tractor Power Flow Blower Assembly 48c Mower W Quick Tatch Pc9078 Mower
Description: John Deere 648M Quik Trak Mower Parts intended for John Deere 345 Parts Diagram, image size 410 X 410 px, and to view image details please click the image.. Truly, we have been remarked that john deere 345 parts diagram is being one of the most popular subject at this moment. So we attempted to identify some terrific john deere 345 parts diagram graphic to suit your needs.
5. Location. Tunkhannock, Pa. Tractor. John Deere 345 Garden Tractor. I.m looking for parts for a 345 J.D. engine rebuild. I understand that it has a Kawasaki engine and thought that the parts would be cheaper from them than from John Deere. The cam broke and I need several parts besides for a complete repair.

Need To Find Info On Electrical Schematic For Deere 345 Lawn Tractor Built Around 1997 Has The Kawasaki 20 Hp Engine

Re Deere 345 Lawn And Garden Tractor Pto Will Not Engage Used Tractor To Mow Previous Day When Started Tractor Next
John Deere Gx345 Lawn Garden Tractor Power Flow Blower Assembly 48c Mower W Quick Tatch Pc9078 2002 Model M00pfck036395 999999 Gx345 Lawn Garden Tractor Power Flow Blower Assembly 48c Mower W Quick Tatch Pc9078 Brake
John Deere Gx345 Lawn Garden Tractor With 54 In Convertible Mower Deck Pc9078 2002 Model M0g345b105001 110000 Gx345 Lawn Garden Tractor With 54 In Convertible Mower Deck Pc9078 2003 Model M0g345b110001 120000 Gx345 Lawn
0 Response to "40 john deere 345 engine diagram"
Post a Comment