41 nissan frontier exhaust system diagram
Installation of a Doug Thorley Catback Exhaust on a 2011 Nissan Xterra. We will be making a video later on cutting back the exhaust and adding a proper (and... Nissan Frontier 2006, Catalytic Converter by AP Exhaust®. Converter Configuration: Direct Fit. Today's exhaust performance market continues to cover a broad spectrum of vehicles. The unique nature of this market is that a product... 5-year/50,000-mile warranty on converter body25,000-mile warranty on emissions. $280.64 - $842.19.
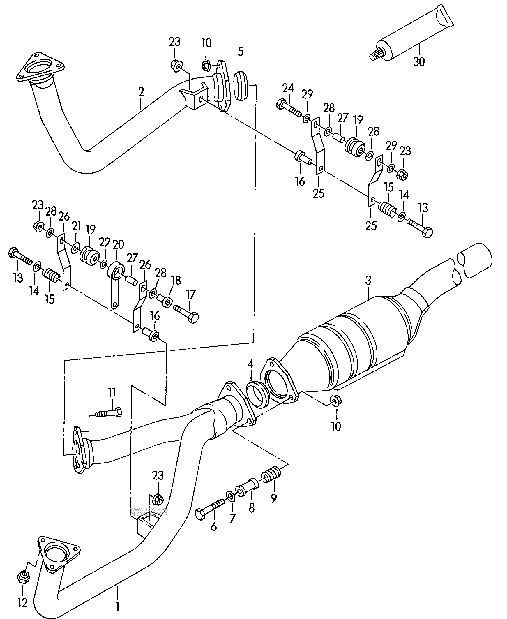
10. $89.01. Cross Over Pipe Frontier. 4.0l. Xterra. Frontier. 2.5l. Manual trans. Pathfinder. 11. $9.64. Cross Over Pipe Gasket Everything From the muffler to the exhaust manifold on your Nissan depends on an intricate system to ensure that exhaust From your Engine is filtered through the tailpipe correctly.

Nissan frontier exhaust system diagram
The Nissan Frontier Exhaust System is located beneath the automobile's chassis for optimal release of the car's exhaust. A Nissan Frontier Exhaust System working at peak efficiency supplies better energy efficiency, engine potency and enhanced performance. Your automobile's Nissan Frontier Exhaust System draws toxic gases made by the engine ... We thought it would be a fun time and it was!!!Enjoy the vlog!!! NISSAN FRONTIER Exhaust Systems. Filter by Availability Filter Results NISSAN FRONTIER Individual Parts; Part Groups; Results 1 - 21 of 21 25 Records Per Page Default Sort . Borla 140802BC - Borla S-Type Cat-Back Exhaust Systems. Borla 140802BC - Borla S-Type Cat-Back Exhaust Systems ...
Nissan frontier exhaust system diagram. The BORLA® R&D Team has created an awesome sounding exhaust for your Nissan Frontier! Our Cat-Back system will provide a significant improvement in tone and overall volume that will make your Nissan Frontier more enjoyable to drive. The S-Type system is specifically tuned for performance and sound on the Frontier's 4.0L V6 engine. Exhaust Muffler King Cab. Standard bed. Frontier. 3.3l. Bed Length 56.3". Without supercharger. Exhaust Muffler Long bed. Frontier. 3.3l. Without supercharger ... Helps your vehicle emit harmless gases Direct OEM replacement. $236.62 - $922.82. Walker® Replacement Exhaust Kit. 1. # 482485141. Nissan Frontier 2004, Replacement Exhaust Kit by Walker®. If you are looking for the ultimate in quality and value, then this superior replacement exhaust kit by Walker is what you need. Muffler Exhaust System for Nissan Frontier 2.4L 2WD RWD 116" WB 2001-2003. $293.86. $36.26 shipping. MagnaFlow 15866 2.5'' MF Perf Cat-Back Exhaust for 02-04 Nissan Frontier V6 3.3L (Fits: 2003 Nissan Frontier) 4.5 out of 5 stars
Browse all 2004 Frontier Exhaust Systems. MagnaFlow offers complete performance exhaust systems for your 2004 Nissan Frontier. Determine the power and sound you demand for your 2004 Frontier and shop all available exhaust systems online. Select your '04 Nissan Frontier sub-model and engine details to buy the best exhaust system that fits your ... Gibson 612211B Black Elite Single Exhaust System for 05-19 Nissan Frontier 4.0L (Fits: Nissan Frontier) $708.99. Free shipping. or Best Offer. MagnaFlow 15580 3'' Perf. Cat-Back Exhaust Sys for 10-19 Nissan Frontier V6 4.0L (Fits: Nissan Frontier) $858.00. The Nissan exhaust system is important to your vehicle in a great number of ways. The smooth and efficient emission of exhaust gasses helps the vehicle to perform at its best. The proper function of the Nissan exhaust system helps to prevent environmental pollution, keeping the harmful chemicals emitted by the vehicle at the lowest possible level. Description : Exhaust Tube & Muffler For 2002 Nissan Frontier | Nissan Parts Deal in 2002 Nissan Frontier Parts Diagram, image size 975 X 566 px, and to view image details please click the image. Here is a picture gallery about 2002 nissan frontier parts diagram complete with the description of the image, please find the image you need.
Exhaust System Kit: Choose for Me to Minimize Cost Choose for Me to Minimize Cost. NISSAN > 2006 > FRONTIER > 4.0L V6 > Exhaust & Emission > Exhaust System Kit. Price: Alternate: No parts for vehicles in selected markets. Daily Driver . WALKER . Short Bed. WALKER . $205.79: $0.00: $205.79 : Quantity: 2005 nissan frontier nismo exhaust four wheeler magazine, 2006 nissan an exhaust system diagram downloaddescargar com, 2008 nissan pathfinder engine diagram lucaitaliankitchen com, 2005 nissan frontier catalytic converter replacement part 1, nissan datsun frontier exhaust pipe autozone com, 2001 nissan frontier parts nissanpartsdeal Nismo Exhaust; Nismo Fuel Regulator; About Nissan Frontier. Nissan Frontier is a compact pickup truck manufactured by the exceptional Japanese automaker Nissan Motor Company Ltd since 1997. The first Nissan Frontier was introduced in 1997 for the 1998 model year in North, Central and South American markets to replace the aging 1986.5-1997 ... I installed the AFE catback a month or so ago and like many have complained about, experienced a fair amount of drone. I enjoyed the sound, volume, and build quality but was getting overwhelmed by drone at interstate speeds 70-80mph. Remembering the factory exhaust had dampers, I began looking...
Your Nissan Frontier features four-cylinder or V6 power, making it the ideal choice for a person with a rugged yet comfortable lifestyle. To get the most out of your vehicle, get new exhaust pipes for Nissan Frontier from AutoZone that maximize the engine performance. Vehicles tend to benefit from a slightly larger Nissan Frontier exhaust pipe.
RockAuto ships auto parts and body parts from over 300 manufacturers to customers' doors worldwide, all at warehouse prices. Easy to use parts catalog.
The Banks System I had on my truck had a provision for mounting it on their exhaust, but I got the impression there isn't a way to transfer it to the Gibson system. I don't know if it needs to be mounted on an aftermarket exhaust or not, but I would think it Nissan felt it was required on the stock system it sure couldn't hurt to mount it on an ...
08267-03010. Stud. $7.25$5.13. 1. Add To Cart. Genuine Nissan Parts, the Right Choice. NissanPartsDeal .com offers the wholesale prices for genuine 2002 Nissan Frontier parts. Parts like Exhaust Tube & Muffler are shipped directly from authorized Nissan dealers and backed by the manufacturer's warranty. Parts fit for the following vehicle options.
Shop Nissan Frontier Exhaust Muffler. Exhaust tube & muffler. TUBE, System, CALIFORNIA - OEM Nissan Part # 20100-5S710 (20100-5S700, 201005S710)
Exhaust Manifold, Left. Left. Federal. From 6/00. Xterra. 3.3l. From 06/2000. Frontier. 3.3l. 3.3L, without supercharger.
OEM 2011 Nissan Frontier Exhaust system parts are designed to perfectly complement your Nissan. Nissan Parts & Accessories Online is the official online source for original parts engineered to maintain the exceptional level of innovation and excitement you've enjoyed since the day you purchased your Nissan Frontier.
Get discount prices, fast shipping and ultimate product help when shopping for 2017 Nissan Frontier Exhaust Systems, Headers, Pipes and Hardware at 4 Wheel Parts. The best online destination and local store solution for all of your Truck and Jeep off-roading needs!
Your 2008 Nissan Frontier exhaust system runs from the exhaust manifold (or header) flange connected to the engine, all the way to the exhaust tip at the rear. In between you will usually find a flex pipe, catalytic converter or two, a mid pipe, a resonator, a muffler, and several feet of carefully routed exhaust pipe tube.
Showing 1 - 5 of 5 results. Sort by: Magnaflow®. 15580 MF Series - 2010-2019 Nissan Frontier Cat-Back Exhaust System - Made of Stainless Steel. Part Number: M6615580. Vehicle Info Required to Guarantee Fit. $858.00. +$0.00.
2013 NISSAN FRONTIER Exhaust Systems. Filter by Availability Filter Results 2013 NISSAN FRONTIER Individual Parts; Part Groups; Results 1 - 13 of 13 25 Records Per Page Default Sort . Borla 140802BC - Borla S-Type Cat-Back Exhaust Systems. Borla 140802BC - Borla S-Type Cat-Back Exhaust Systems ...
NISSAN FRONTIER Exhaust Systems. Filter by Availability Filter Results NISSAN FRONTIER Individual Parts; Part Groups; Results 1 - 21 of 21 25 Records Per Page Default Sort . Borla 140802BC - Borla S-Type Cat-Back Exhaust Systems. Borla 140802BC - Borla S-Type Cat-Back Exhaust Systems ...
We thought it would be a fun time and it was!!!Enjoy the vlog!!!
The Nissan Frontier Exhaust System is located beneath the automobile's chassis for optimal release of the car's exhaust. A Nissan Frontier Exhaust System working at peak efficiency supplies better energy efficiency, engine potency and enhanced performance. Your automobile's Nissan Frontier Exhaust System draws toxic gases made by the engine ...
Auto Parts Accessories 2002 Nissan Frontier 3 3l 4wd 2001 Front Passenger Side Converter For 2000 Car Truck Catalytic Converters
0 Response to "41 nissan frontier exhaust system diagram"
Post a Comment