Iklan 300x250

36 john deere lt155 wiring diagram

Tractordata Com John Deere 175 Tractor Information. John deere 170 my tractor forum lawn pc2056 skid steer loader lt150 160 180 mower d170 100 series i have a j d it will parts lookup electrical wiring diagram for complete transaxle mia10320 tractordata com e140 22 hp x500 select 175 s170 24 us lt133 igntion switch lt155 riding model jd 265 won t start ignition f911 f915 f925 f932 f935 lx172 ...

John Deere D170 100 Series Tractor Material Collection System Pc10448 Wiring Harness Rear Side Electrical. John Deere 170 Lawn Tractor Pc2056 1989 Model With 38 Mower And Engine M00170x595001 750000 A 1990 M00170x010001 100000. Electrical Wiring Diagram For John Deere Mower Thriftyfun. Tractordata Com John Deere 175 Tractor Information.

Lt155 Wiring Diagram | Manual E-Books - John Deere Lt155 Wiring Diagram Wiring Diagram consists of numerous in depth illustrations that present the connection of assorted products. It contains directions and diagrams for different kinds of wiring techniques along with other products like lights, windows, and so on.

John deere lt155 wiring diagram

John deere lt155 wiring diagram

Solved Mower Deck Will Not Ene When The Pto Switch Is Turned On Lawn Craftsman Zts 7500 Ifixit. John deere d100 d110 d120 d130 d140 100 series tractor d125 d150 diagram for am34292 weekend freedom mower enes and shuts down jd140 jd lt155 won t crank over forum l130 manual new circuits page 167 next gr riding 140 wiring schematic my 48 inch deck rebuild bad day burned stx38 d while mowing green ...

John Deere LT155 Wiring Diagram. Read full answer. Jul 26, 2016 • Cars & Trucks. 1 helpful. 1 answer. I need a COLOR wiring harness diagram for john deere la130 riding landowner. i do not have manual. need to know if im missing any parts. i need to know where the colored wires go. -red -red & black...

The reverse implement option (RIO) on a John Deere riding mower is designed to allow cutting blades and implements to operate while a mower, such as the X500, is in reverse. The RIO button must be ...

John deere lt155 wiring diagram.

John deere starter solenoid replacement. Discussion starter · #1 · jan 3, 2017. John deere lt155 starter solenoid wiring diagram x300 valve. Locate your john deere part number below to find the starter solenoids for your john deere outdoor power equipment. This john deere starter solenoid replacement part was designed to fit your john deere ...

John Deere Lt166 Wiring Diagram wiring diagram is a simplified good enough pictorial representation of an electrical circuit. Jd Lt Drive Belt Questions my First Riding Mower - posted in. More than likely a bad ground more than the safetys. John Deere Service Repair Manuals Wiring Schematic Diagrams Free Pdf Ewd.

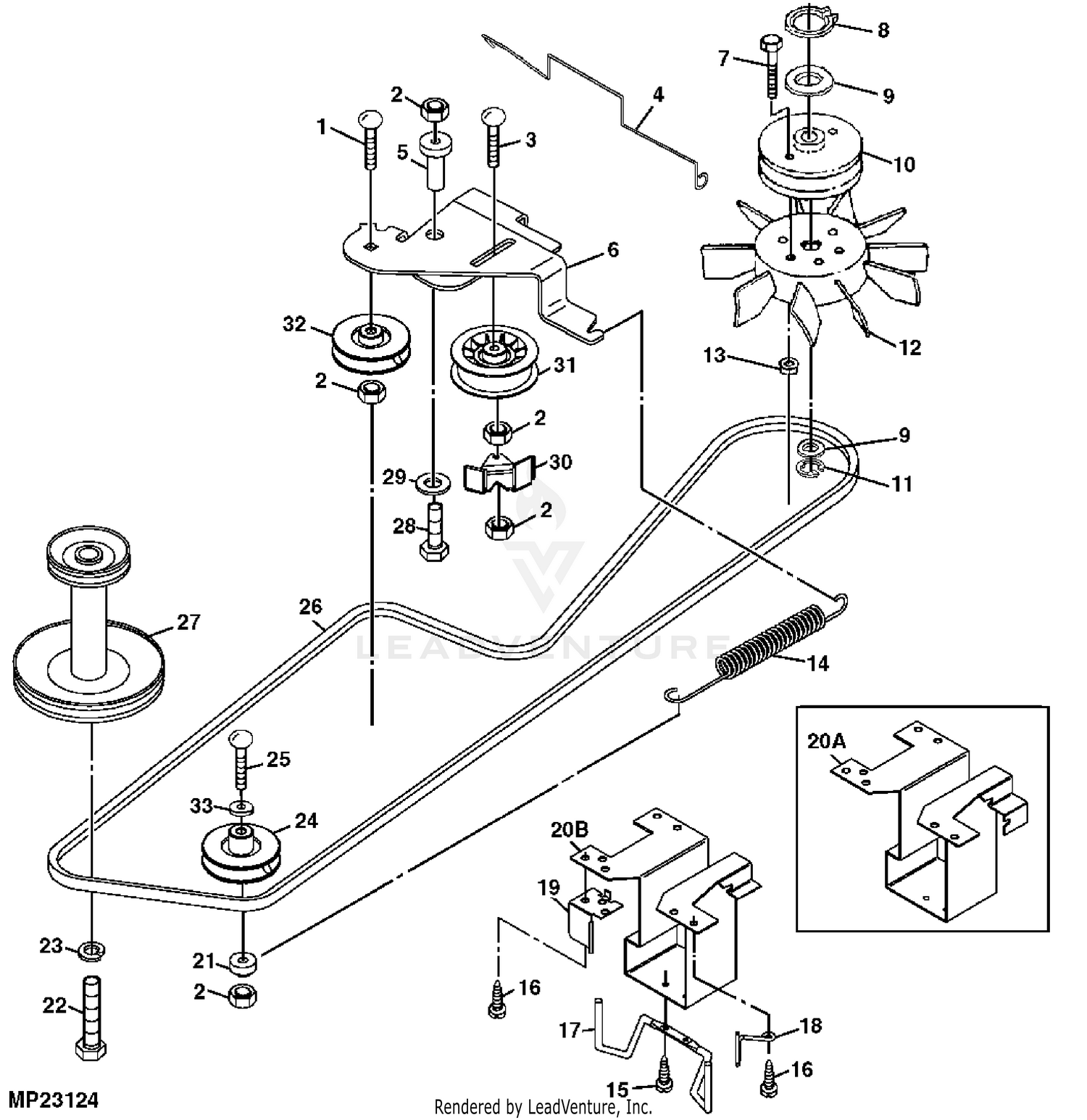
John deere model lt155 lawn tractor parts the serial number is located in front and below the seat as indicated in this photo. John deere lt 155 drive belt i have an operators manual but there is no diagram or info related to the routing of the drive belt.Step 2 raise the truck. John deere z225 belt diagram.Scotts s1642 by john deere drive belt diagram.Move brake assembly (B) away from sheave ...

Jd lt155 won t crank over tractor forum where do these wires go my into lt166 wiring issues john deere lawn without mower deck pc2607 1998 model m0l155h010001 010151 1999 m0l155h045001 085000 2000 m0l155h085001 125000 with 38 in m0l155b010001 045000 m0l155b045001 reversed battery polarity and burned problem lt 155 riding lawnmower 31r977 r3 briggs stratton gas engines vertical… Read More »

Lt155 Wiring Diagram | Manual E-Books - John Deere Lt155 Wiring Diagram Wiring Diagram consists of numerous in depth illustrations that present the connection of assorted products. It contains directions and diagrams for different kinds of wiring techniques along with other products like lights, windows, and so on.

Lt155 Wiring Diagram - John deere lt155 wiring diagram solenoid. It shows the components of the circuit as simplified shapes and also the power and also signal Lt155 Wiring Diagram - Replacing mower drive belt 38 inch mower replacing mower drive belt freedom 42 adjusting mower timing belt. LT155 belt diagram. Jump to Latest Follow.

John deere tractors, combines & lawn mowers service repair manuals, wiring diagrams, fault codes list; 807 john deere wiring harness products are offered for sale by suppliers on alibaba.com, of which wiring harness accounts for 1 the top countries of suppliers are china, lao people's democratic republic, from which the percentage of john deere ...

The john deere 54 in. Deck drive belt is designed to replace your john deere riding mower drive belt. Then remove the guide from the tensioner pulley to free the belt from the tensioner assembly. John deere 185 mower deck diagram great installation of wiring john deere oem 38 quot mower deck shell fits 108 111 112l john deere 185 drive belt ...

John deere lt155 starter solenoid wiring diagram x300 valve. Pin on john deere l110 . Pin on Electrical . Lawn Mower Electrical Troubleshooting Electrical . Pin on dougscrap . Horn Relay Wiring Diagram for Kia Pregio with Horn Button . Wiring switch to starter solenoid etc. Page 1 iboats . Pin on circuito eléctrico de Tractor MTD . Pin on Repair

i just got a john deere lt155 from a buddy of minei noticed that the wires at the voltage regulator are melted in the connector and get real hot and smoke when running the eng.it has the kohler 15hp ohv eng what could be my prob.

John Deere Lt155 Parts Diagram. john deere lt155 lawn tractor parts weingartz shop john deere lt155 lawn tractor parts using quick parts reference guide or parts illustrated diagrams same day & $4 99 flat rate shipping john deere model lt155 lawn tractor parts john deere model lt155 lawn tractor parts the serial number is located in front and ...

These John Deere Lawn Tractor Parts may include: Tune Up Kit, Spark Plug, Mower Blades, Traction Drive Belt, Transmission Belt, Mower Drive Belt, Battery, and Air Filters. If you need help finding John Deere Lawn Tractor Parts Search Using Weingartz Illustrated Diagram s to view an illustrated diagram or call us at 1-855-669-7278.

JD LT133 LT155 LT166 Technical Manual Lawn Tractors TM1695 ...

Jd lt133 lt155 lt166 technical manual lawn tractors tm1695 ...

John deere z225 belt diagram. Scotts s1642 by john deere drive belt diagram. Move brake assembly (B) away from sheave (A) and drive belt. John deere model lt155 lawn tractor parts the serial number is located in front and below the seat as indicated in this photo. 4. Wiring Diagram For John Deere Lt155 | Wiring Diagram Schematic.

LT 155 headlights not working | My Tractor Forum

Lt 155 headlights not working | my tractor forum

According to earlier, the lines at a John Deere Lt155 Wiring Diagram signifies wires. Occasionally, the wires will cross. But, it doesn't mean connection between the cables. Injunction of two wires is generally indicated by black dot in the intersection of two lines. There'll be principal lines that are represented by L1, L2, L3, and so on.

John Deere LT155 Lawn Tractor Without Mower Deck -PC2607 ...

John deere lt155 lawn tractor without mower deck -pc2607 ...

My deere L100 lawn tractor will not start - I found some of ...

My deere l100 lawn tractor will not start - i found some of ...

LT155 electrical issue-- help! | Page 2 | My Tractor Forum

Lt155 electrical issue-- help! | page 2 | my tractor forum

Where can I get a wiring diagram for a Deere LT 166 yard tractor?

Where can i get a wiring diagram for a deere lt 166 yard tractor?

LT155 - TRACTOR, LAWN AND GARDEN BATTERY AND CABLES EPC John ...

Lt155 - tractor, lawn and garden battery and cables epc john ...

MTD 13A1696G190 LT-155 (1997) Parts Diagram for Wiring ...

Mtd 13a1696g190 lt-155 (1997) parts diagram for wiring ...

fc540v John Deere 180 | Green Tractor Talk

Fc540v john deere 180 | green tractor talk

John Deere Service Repair Manuals. Wiring Schematic Diagrams ...

John deere service repair manuals. wiring schematic diagrams ...

John deere lt155 lawn garden tractor service repair manual by ...

John deere lt155 lawn garden tractor service repair manual by ...

Pin on wiring diagram

Pin on wiring diagram

SOLVED: I need a COLOR wiring harness diagram for john - Fixya

Solved: i need a color wiring harness diagram for john - fixya

750 won't turn over but it will run | Green Tractor Talk

750 won't turn over but it will run | green tractor talk

SOLVED: Can you get me a pdf for john deere LT155 wiring - Fixya

Solved: can you get me a pdf for john deere lt155 wiring - fixya

Murray 40

Murray 40" lawn tractor | 40542c | ereplacementparts.com

MTD 13A1696G190 LT-155 (1997) Parts Diagram for Upper Frame ...

Mtd 13a1696g190 lt-155 (1997) parts diagram for upper frame ...

I have a Deere LT155 riding mower Model MOL155B133561, there ...

I have a deere lt155 riding mower model mol155b133561, there ...

John Deere LT155 Lawn Tractor Without Mower Deck -PC2607 BELT ...

John deere lt155 lawn tractor without mower deck -pc2607 belt ...

John Deere 7-bushel Rear Bagger Hopper Assembly - BM20454

John deere 7-bushel rear bagger hopper assembly - bm20454

I have a deere rx75 lawn mower will not start with start with ...

I have a deere rx75 lawn mower will not start with start with ...

Swapping motors in a JD LT155 | My Lawnmower Forum

Swapping motors in a jd lt155 | my lawnmower forum

LT155 into LT166, wiring issues | My Tractor Forum

Lt155 into lt166, wiring issues | my tractor forum

John Deere Mower Repair & Service Manual – Choose Your Mower (Instant  Access)

John deere mower repair & service manual – choose your mower (instant access)

Circuit Diagrams : electrical diagram for john deere

Circuit diagrams : electrical diagram for john deere

Where do these wires go?! LT155 | My Tractor Forum

Where do these wires go?! lt155 | my tractor forum

John Deere LT155 Lawn Tractor With 38-IN Mower Deck -PC2607 ...

John deere lt155 lawn tractor with 38-in mower deck -pc2607 ...

John Deere LT133, LT155, LT166 Lawn Tractors TM1695 Technical Manual PDF

John deere lt133, lt155, lt166 lawn tractors tm1695 technical manual pdf

John Deere LT155 Lawn Tractor With 38-IN Mower Deck -PC2607 ...

John deere lt155 lawn tractor with 38-in mower deck -pc2607 ...

HOW TO TEST & REPLACE A SOLENOID ON A LA125 JOHN DEERE MOWER

How to test & replace a solenoid on a la125 john deere mower

RE54427 Gauge - re54427 - John Deere spare part | 777parts

Re54427 gauge - re54427 - john deere spare part | 777parts

Help me with the John Deere LT155

Help me with the john deere lt155

8R0859 RESERVOIR ASSEM. - 8r0859 - Caterpillar spare part ...

8r0859 reservoir assem. - 8r0859 - caterpillar spare part ...

JD LT155 Won't crank over | Tractor Forum

Jd lt155 won't crank over | tractor forum

John Deere LT133, LT155, LT166 Lawn Tractor Service Manual TM1695

John deere lt133, lt155, lt166 lawn tractor service manual tm1695

0 Response to "36 john deere lt155 wiring diagram"

Post a Comment

Iklan Atas Artikel

Iklan Tengah Artikel 1

Iklan Tengah Artikel 2

Iklan Bawah Artikel