39 craftsman pressure washer parts diagram
Craftsman 580.750400 Manual Online: Parts Diagrams. CRAFTSMAN 2280 PSMPressure Washer 580.750400. Main Unit m Exploded View and Parts List. Pressure Washer Craftsman CRAFTSMAN 580.752 Owner's Manual. 3.75 horsepower 2,000 psi 2.0 gpm (41 pages).
When a craftsman pressure washer doesn't start, there are a plethora of reasons for that. After all, the spark plug is the part that diffuses the electrical signal that ignites the fuel and air in the engine's cylinder to jump the engine. Sears Craftsman EZ3 Lawn Tractor Mower Owner's Manual.
Pressure Washer Parts, Craftsman Power Washer Parts, Outlet Tube Replacement 190589GS 190634GS 201497GS Compatible with Briggs & Stratton & Troy-Bilt Pressure Washer Pump.

Craftsman pressure washer parts diagram
Craftsman Pressure Washer Replacement Parts Fast. Excel. Details: Craftsman Pressure Washers parts with OEM Craftsman parts diagrams to find Craftsman Pressure Washers repair parts quickly and easily Order Status Customer Support 512-288-4355 My Account Login to your...
Home:Lawn & Garden Parts:Craftsman Parts:Craftsman 2400 PSI HIGH PRESSURE WASHER Manual. Back Cover. Full one year warranty on craftsman high pressure washer.
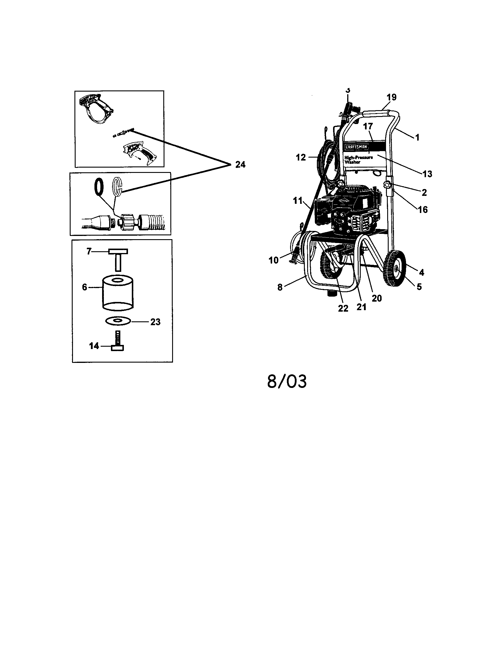
Craftsman Pressure Washer - Free download as PDF File (.pdf), Text File (.txt) or read online for free. For one year from the date of purchase, when this Craftsman High Pressure Washer is maintained and operated according to the instructions in the owner's manual, Sears will repair, free of...
Craftsman pressure washer parts diagram.
Whether you are putting your equipment away for the season or needing to replace a part, locate your equipment or engine manual to get the information specific to your product.
Craftsman Pressure Washers parts with OEM Craftsman parts diagrams to find Craftsman Pressure Washers repair parts quickly and easily.
Get Craftsman 580.752520 Parts at Master Tool Repair. Our site is easy to shop and we have online schematics, tech docs and videos available. 580.752520 Gas Pressure Washer. Below are the only replacement parts for this unit. All other parts are no longer available.
Craftsman Pressure Washers parts with OEM Craftsman parts diagrams to find Craftsman Pressure Washers repair parts quickly and easily. The electric pressure washer is easy to start up and use. In fact, it's the only pressure washer that comes fully assembled.
30 Craftsman Power Washer Parts Diagram Wiring List. Generac 9857 0 Electric Pressure Washer Parts Sears Direct. Craftsman 1800 Psi 1 2 Gpm 13 Amp Corded Electric Pressure Washer.
Craftsman Pressure Washers parts with OEM Craftsman parts diagrams to find Craftsman Pressure Washers repair parts quickly and easily. We participate in the Amazon Services LLC Associates Program, an affiliate advertising program in which we earn advertising fees by linking to...
Owners Manual Craftsman Pressure Washer Your CRAFTSMAN PRESSURE WASHER. Craftsman Electric Pressure Washer Parts - WordPress.com Craftsman Pressure Washer Parts Fix your Craftsman Pressure Washer today with parts, diagrams, accessories and repair advice.
ℹ Craftsman Pressure Washer manuals are introduced in database with 295 documents (for 3132 devices). 295 documents found for Craftsman Pressure Washer devices. INSTRUCTIONS-PARTS LIST306-934Rev. KSupersedes HThis manual contains IMPORTANTWARNINGS AND...
Part out of stock? Engine Parts.
Need to fix your 580767300 Pressure Washer? Use our part lists, interactive diagrams, accessories and expert repair advice to make your repairs easy. Craftsman 580767300 Pressure Washer Parts. Search within model.
Craftsman Pressure Washer parts that fit, straight from the manufacturer. Use our interactive diagrams, accessories, and expert repair help to Actually, we also have been noticed that craftsman pressure washer parts diagram is being just about the most popular subject at this moment.
Craftsman cmxgwas020734 gas pressure washer parts manufacturer approved parts for a proper fit every time. Here are the repair parts and diagrams for Pressure Washer Pump Ar Annovi Reverberi 3 4 Horizontal Rmv2 2g24d Ez Qc. Pressure Washer Unloader Valve Kit 190661gs Parts Sears...
CRAFTSMAN® gas and electric pressure washers make sidewalks, driveways, decks, and more look like new. Adjustable water pressures from 300 to 3300 PSI let you control pressure to You can set your browser to block or alert you about these cookies, but some parts of the site will not then work.
Find replacement parts for any Craftsman pressure washers repair project.. Model 58099015 (17 parts). Electric. Model #580752850 Craftsman power washer, electric. Parts Diagrams (1) . Need to fix your 580752020 Electric Pressure Washer?
Replacement parts inventory gould pump parts; filter cartridges; baumann valve actuators tools; hand tools; ret ractable air hose reels; griffin stainless steel sink; craftsman vertical 9 pressure washer trailer portable light tower continental cargo trailer texas bragg utility trailer high …
Owners Manual Craftsman Pressure Washer Manual which. Karcher Pressure Washer Pump 3000psi - Horizontal Shaft 9.120-021. (9120021) Sears Craftsman Pressure Washer Models: Karcher Parts Diagrams · Karcher Trigger ... Read Document.
Shop for CRAFTSMAN PRESSURE WASHER repair parts for model 580752722 Find part in diagram CRAFTSMAN Power Washer, Gas Model Repair parts for Craftsman 580.752020, 1800 PSI pressure washers. Our site is easy to shop and we have online schematics, tech docs and videos.
Sears pressure washer parts manual. Add to compare compare now. Get pressure washer repair manual instructions for completing common repairs such as. Download Manual for Model 580752530 CRAFTSMAN PRESSURE WASHERSears PartsDirect has parts manuals part diagrams for all...
Hey guys! [Blue here says hi too.](https://imgur.com/F7Lnw8B) Heads up, I'm about to throw a pretty big story up here! I bought the bike two months ago. Never even knew we got KLRs here, they are extremely rare. And it gets better.1987, bought *brand new i*n Vienna. All documentation (which surprisingly dates to September 23, 1986), original model book, one owner (almost), service record with a stamp every 3 years. Sure, this bike was taken care of. That is, till 2015 when the original owner...
The majority of your Craftsman pressure washer was assembled at the factory. This Craftsman Pressure Washer permits regulation of output water pressure by varying the engine speed. Do Not attempt to repair a damaged hose. Replace the hose with the genuine. Craftsman part.
Craftsman Pressure Washer Model #how do I adjust the unloader on my craftsman model 580752810 pressure washer, Just replaced it and it has I ordered a pressure hose according to the manuals parts list (203961GS) but does not match the original hose I removed from the washer.
Craftsman Pressure Washer Manual - Sears Craftsman 580752050 gas pressure washer parts - manufacturer-approved parts for a proper fit every time! We also have installation guides, diagrams and manuals to help you along the way! +1-888-873-3829. Chat (offline) Sears Parts Direct.
Craftsman Pressure Washer Parts - The Adjustable Wand. As the name suggests, this wand is designed to adjust your pressure according to a required output ranging from 0 to 40 degrees. Pressure adjustment from high to low is necessary when cleaning.
I have a Craftsman 2400 PSI pressure washer with a 6.0 Horsepower Briggs Intek engine. I looked on the parts diagram and found the valve.
34 Frigidaire Washer Parts Diagram. Homelite Ry141900 Pressure Washer Mfg No 090079269 Parts. General Electric Washing Machine Wiring Diagram Wwa8858malad. Appliance Talk Kenmore Series Electric Dryer Wiring. Craftsman Electric Pressure Washer Parts Diagram.

2400-2800 pressure washer pump - 3/4" horizontal pressure pump - replacement power washer pump horizontal 3/4'' power pumps
0 Response to "39 craftsman pressure washer parts diagram"
Post a Comment