Iklan 300x250

38 Tecumseh Ohh60 Parts Diagram

Murray Go Kart Owners Manual - fortifyprogram.org Dec 07, 2021 · Dec 03, 2021 · Tecumseh OHH60 - 71113 - OH195XA - 71113 6HP. 5 hp honda clone go-kart and mini bike engine includes a manual pull start as well as the convenience of an electric start. 11hp tecumseh carburetor linkage configuration. 5 hp throttle linkage diagram April 30th, 2018 - Tecumseh 6.5 hp engine manual - United States guidelines ... Tecumseh Engine Diagram 5hp Parts Beautiful Ignition Wiring Gallery. Diy How to Adjust A Tecumseh Carb An Hm80 Motor Find many great new & used options and get the best deals for Carburetor For TECUMSEH 4.5HP 5HP 5.5HP 6HP 6.5HP 6.75HP Engine Lawn Mower at the best online prices at …

Parts Tecumseh Diagram Engine 6hp [1QH94W] Tecumseh 6hp Power Sport Engine Diagram. To obtain precise part number (s) you will need the model, specifi cation number, and the Tecumseh parts look-up system. Enter your Tecumseh model number below. Description: Small Engine Surplus Oh195Ep-71807 Power Sport 6. Here is a picture gallery about tecumseh 6.

Tecumseh ohh60 parts diagram

Tecumseh ohh60 parts diagram

Snowblower Governor Adjustment Craftsman [OP3NS1] Wellsking 34443A 34443 Ignition Coil Module fits Tecumseh 34443B 3443C 34443D Toro OH195XP OHH45 OHH50 OHH55 OHH60 Craftsman Yardman 6. Tecumseh Engine Parts. com, this diagram will work for the following models: • TVS90 • TVS100 • TVS115 • TVS120 • OVRM After endless searching for the proper connection of the linkage on my Craftsman ... Parts Engine 6hp Tecumseh [BU0NGY] Download Parts Catalog Engine/Motor Manufacturer Tecumseh Engine/Motor Size 6. A DB Electrical starter will keep your engine working like new. Tecumseh 4 cycle engine parts stout racing engines model ohh60 71131c 5 hp diagram. Pull Recoil Starter For 6hp Tecumseh Older Horizontal Engine | eBay. Parts Diagram Engine Tecumseh 6hp [Y3PMTJ] Tecumseh 4 cycle engine parts stout racing engines model ohh60 71131c 5 hp diagram. reference guide when servicing Tecumseh engines and motion drive systems. TVM engines have the same set up as the TVS engines, but the governor spring will connect to the 3rd hole from the top of the governor arm.

Tecumseh ohh60 parts diagram. Tecumseh Parts Engine [Q0B7LD] Tecumseh Parts Tecumseh Parts: If you need a part for your Tecumseh engine, Jack's is your place. Briggs & Stratton 692038 Lo-Tone Muffler For 6 HP Quantum Engines, or 625-675 Series Engines. See reviews, photos, directions, phone numbers and more for Tecumseh Small Engine Parts locations in Green Bay, WI. Tecumseh Diagram 6hp Engine Parts [CXLW5M] Tecumseh 4 cycle engine parts stout racing engines model ohh60 71131c 5 hp diagram. This is an OEM sourced replacement part used with a variety of lawn and garden equipment. Turn screws adjusting both idle and main mixture in (clockwise) finger tight, however over tightening the screws may partially or entirely damage the tapered portion of the ... Engine Tecumseh [UNBR1C] Tecumseh muffler #35056 HM80 snow blower engine OEM part. Tecumseh Parts Tecumseh Parts: If you need a part for your Tecumseh engine, Jack's is your place. Tecumseh engine products at one time were sold in over 120 countries. It is a OH160-160039B 9289E. Get it Mon, Aug 23 - Wed, Aug 25. So, in the manner of you require the Page 4/7. Diagram 6hp Tecumseh Parts Engine [HXEVQT] About Diagram 6hp Parts Tecumseh Engine . We sell high quality Tecumseh Snow Blower Parts and other parts online. tecumseh lawn mower engines uk, 4hp tecumseh for sale canada, tecumseh ohv carb ipb, 12 hp tecumseh magneto solid state, tecumseh 5 5 ohh55.

6hp Oil Engine Type Tecumseh [BPAZ7H] Tecumseh 6hp Engine Parts Diagram. Easy to pull and start, and very good power in the grass. MTD has the oil for 2- and 4-stroke engines, plus lubricants and grease for all your power. Kohler SH265-0056 6. Get Free Tecumseh Engines Tecumseh Engines Getting the books tecumseh engines now is not type of inspiring means. Tecumseh 6hp Engine Parts Diagram [KFGN4Q] Tecumseh 4 cycle engine parts stout racing engines model ohh60 71131c 5 hp diagram. Tecumseh 6hp Power Sport Engine Diagram. engine: tvm195 150288g 8150c. locating and reading engine model and specification engine model number locations model numbering system for tecumsehpower's full. Manco Dingo 285 Go Kart Parts | 286 Dingo Parts Manco Dingo Go Kart Parts. 5hp Manco 285 Dingo Parts and 6hp Manco 286 Dingo Parts. The 5hp to 6.5hp Manco Dingo Go Karts with a Tecumseh Engine or a Robin Subaru Engine use an Asymmetric Comet 30 Series Torque Converter drive system with a belt and a chain. How to Adjust the Governor on My Tecumseh Engine | Hunker Tecumseh engines are equipped with a governor. If the engine over-revs, the governor will cut back the throttle. Conversely, if the engine is under a heavy load, the governor will increase the throttle to compensate. To adjust the governor on a Tecumseh engine, you'll need only basic hand tools.

5.5HP | Tecumseh Carburetors QAZAKY 2pc Air Filter Cleaner Replacement for Tecumseh 36046 740061 740061C 36634 OH95 OH195 OHH50 OHH55 OHH60 OHH65 VLV50 VLV55 VLV60 VLV66 VLV126 4HP 5.5HP Read more XLYZE Choke Lever Carburetor for Yerf Dog Go Kart 5HP 5.5HP 6HP 6.5HP Tecumseh Engine Replaces 640305 640340 640346 640306A 640222A 640060A Lawn Mower Tecumseh Engine Repair Manual Vlv55 - the Carburetor diagram tecumseh help you to defines all its parts and functions the Carburettor made by them. It proves the big help under Lawn Mower Parts. Investing in a brand new lawn mower can be a tiresome and expensive process, but Jono & Johno offers a ripper alternative — simply ... Search for Tecumseh Parts We have a large ... 6hp Tecumseh Engine Parts [I3P0Z8] Tecumseh Parts Tecumseh Parts: If you need a part for your Tecumseh engine, Jack's is your place. Tecumseh 4 cycle engine parts stout racing engines model ohh60 71131c 5 hp diagram. 0 out of 5 stars. Click the Search Button to See More Results. Tecumseh Carb Linkage Manual Carburetor govenor linkage backlash spri John Deere Snowblower Parts For TRS21 ( Ankeny, IA .. Tecumseh carburetor diagram | linkage — Get troubleshooting manual for tecumseh carburetor and detailed information of tecumseh parts.. 7 HP Tecumseh Carburetor Linkage Configuration On A Snowblower. 753-04333 . ...

TECUMSEH OH195EA OPERATOR'S MANUAL Pdf Download | ManualsLib

TECUMSEH OH195EA OPERATOR'S MANUAL Pdf Download | ManualsLib

Tecumseh Parts Engine [XJ6CVI] Tecumseh Parts. Operator's Manual. 83 by purchasing this kit vs individually buying the parts. Tecumseh Engine Parts Diagram Tecumseh Small Engine Parts and Repair Information. Ships in 4 - 10 business days. Tecumseh 11 Hp Engine Parts Author: static. Choke style carburetor for Tecumseh OHV standard go-kart engines (5hp-6. Add to Cart.

Allong 640025 Carburetor fit for Tecumseh 5HP 5.5HP 6HP 6.5HP Engine 640017  640117B 640025C OHH55 OHH60 OHH65 OHH45 OHH50 Craftsman Motor Lawm Mower ...

Allong 640025 Carburetor fit for Tecumseh 5HP 5.5HP 6HP 6.5HP Engine 640017 640117B 640025C OHH55 OHH60 OHH65 OHH45 OHH50 Craftsman Motor Lawm Mower ...

PDF Teseh Ohh60 Service Manual Teseh Ohh60 Service Manual\u0026 Tools 8-11hp Tecumseh Carburetor Linkage Configuration Tecumseh Carb snowblower cleaning 1 of 2 How to free download service manual of TV, LCD, LED. Cleaning and rebuilding a Tecumseh Series 11 carburetor Removing the Coil, Points \u0026 Condenser from Page 10/16

TECUMSEH OHM120-224602A PARTS LIST Pdf Download | ManualsLib

TECUMSEH OHM120-224602A PARTS LIST Pdf Download | ManualsLib

Tecumseh Ohv Manual - constructivworks.com Tecumseh 6hp engine parts - bpsc.arthist.it Tecumseh 754316A OEM Short Block H. 6 HP Tecumseh Enduro OHV engine with cast-iron cylinder sleeve and low oil Dec 08, 2021 · Fits OH195EA, OHH50, OHH55, OHH60, OHH65 Engines. Most OHV kart engines will require an angled air filter Wash with K&N filter cleaner or a Tecumseh Log Splitter Parts at Jack's.

Tecumseh - Replacement Engine Parts - Replacement Parts - The ...

Tecumseh - Replacement Engine Parts - Replacement Parts - The ...

Tecumseh Engine Parts - narduccielectricphiladephia.com Tecumseh Parts at Jack's - Jacks Small Engines BY TECUMSEH, IT WILL NOT BE MARKED. 1 1 1 1 1 1 2 1 2 1 1 1 1 1 1 1 1 1 1 1 4 1 1 1 1 1 1 Applicable Replacement Parts Diagram Carburetor Manufactured by Tecumseh (no markings) for use with Tecumseh TC300-3136 Engine on General 210 Hole Digger TECUMSEH TC300, FORM

Model Search | ZISS420DXASS

Model Search | ZISS420DXASS

Tecumseh Go Kart Parts | Tecumseh Engine Parts For Go Karts & Mini Bikes. Tecumseh Carburetor 640025C. Fits OH195EA, OHH50, OHH55, OHH60, OHH65 Engines. Tecumseh Primer Bulb fits ECV100, ECV120 and TVS Series Tecumseh engines. Includes lock washer to attach to carburetor. Fits Model OH195EA, OHH50, OHH55, OHH60, OHH65. Use #5 Rope for Engines Up to 7hp. Use #6 Rope for Engines 8hp and Up.

Index of /html/engine-specs/tecumseh/features

Index of /html/engine-specs/tecumseh/features

HH60 | Tecumseh Carburetors Everest Parts Supplies New Tecumseh H30 H50 H60 HH60 632230 632272 Carburetor Brand New! Fast Shipping! High Quality! Great Customer Service! Please Verify OEM Part. Read more. New CARBURETOR TECUMSEH Troy Bilt Horse TILLERS 5hp 6hp H50 H60 HH60. February 12, 2020 Tecumseh Carburetors Carburetors.

Small Engine Suppliers - Engine Specifications and Line ...

Small Engine Suppliers - Engine Specifications and Line ...

6hp Parts Tecumseh Engine [T7V4UA] Tecumseh 4 cycle engine parts stout racing engines model ohh60 71131c 5 hp diagram. Tecumseh 6hp Engine For Sale TECUMSEH TORO 6 HP ENGINE H 60 SNOW BLOWER ENGINE 1 INCH CRANK. This causes the unit to struggle to run.

Parts and Repair Resource: Tecumseh Quick Reference Service ...

Parts and Repair Resource: Tecumseh Quick Reference Service ...

Carb Tecumseh [HZ708C] Tecumseh Governor Linkage Diagram - Kohler Ecv880 3012 Dixie Chopper 33 Hp Parts Diagrams. Tecumseh Carburetor Manual - Free download as PDF File (. Log In Become a Customer. It has a Tecumseh engine. Fits OH195EA, OHH50, OHH55, OHH60, OHH65 Engines. Tecumseh 632765 / 632802 / 632816. Skip to main content.

Tecumseh governor choke linkage link 36711 engine part ...

Tecumseh governor choke linkage link 36711 engine part ...

Tecumseh starter 33329e parts manual - United States ... 5898N Tecumseh Engine Electric Starter Kit 33329 HMSK70 Tecumseh 33329E parts lookup and Tecumseh diagrams with parts lists of Genuine Tecumseh STARTER KIT parts PartsTree.com Order Status Customer Support 512-288-4355 My Account Login to your PartsTree.com to view your saved list of equipment.

FLYPIG New Carburetor Fit for Tecumseh 640025 OHH55 OHH60 OHH65 5 5.5 6HP  Carb Rotary Rot 13152 Oregon 50-653 Replaces#640025 640025A 640025B 640025C  ...

FLYPIG New Carburetor Fit for Tecumseh 640025 OHH55 OHH60 OHH65 5 5.5 6HP Carb Rotary Rot 13152 Oregon 50-653 Replaces#640025 640025A 640025B 640025C ...

Parts Diagram Engine Tecumseh 6hp [Y3PMTJ] Tecumseh 4 cycle engine parts stout racing engines model ohh60 71131c 5 hp diagram. reference guide when servicing Tecumseh engines and motion drive systems. TVM engines have the same set up as the TVS engines, but the governor spring will connect to the 3rd hole from the top of the governor arm.

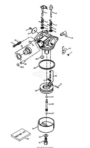
Tecumseh OHH60-71100C Parts Diagram for Engine Parts List #1

Tecumseh OHH60-71100C Parts Diagram for Engine Parts List #1

Parts Engine 6hp Tecumseh [BU0NGY] Download Parts Catalog Engine/Motor Manufacturer Tecumseh Engine/Motor Size 6. A DB Electrical starter will keep your engine working like new. Tecumseh 4 cycle engine parts stout racing engines model ohh60 71131c 5 hp diagram. Pull Recoil Starter For 6hp Tecumseh Older Horizontal Engine | eBay.

John Deere Parts Diagrams, John Deere 724D Walk-Behind ...

John Deere Parts Diagrams, John Deere 724D Walk-Behind ...

Snowblower Governor Adjustment Craftsman [OP3NS1] Wellsking 34443A 34443 Ignition Coil Module fits Tecumseh 34443B 3443C 34443D Toro OH195XP OHH45 OHH50 OHH55 OHH60 Craftsman Yardman 6. Tecumseh Engine Parts. com, this diagram will work for the following models: • TVS90 • TVS100 • TVS115 • TVS120 • OVRM After endless searching for the proper connection of the linkage on my Craftsman ...

Tecumseh Model Number Lookup - Weingartz

Tecumseh Model Number Lookup - Weingartz

Parts and Repair Resource: Tecumseh Quick Reference Service ...

Parts and Repair Resource: Tecumseh Quick Reference Service ...

AUTOKAY Carburetor for Tecumseh Go Kart Engine 5hp 5.5hp 6hp 6.5hp  Horizontal

AUTOKAY Carburetor for Tecumseh Go Kart Engine 5hp 5.5hp 6hp 6.5hp Horizontal

Carburetor Air Filter For Tecumseh OHH60 OHH65 OHH55 4.5HP ...

Carburetor Air Filter For Tecumseh OHH60 OHH65 OHH55 4.5HP ...

Tecumseh - Replacement Engine Parts - Replacement Parts - The ...

Tecumseh - Replacement Engine Parts - Replacement Parts - The ...

Hayskill 640025 Carburetor for Tecumseh 640004 640117B 640014 640017B  640117 OH195EA OH195XA OHH45 OHH50 OHH55 OHH60 OHH65 Engine Lawn Mower

Hayskill 640025 Carburetor for Tecumseh 640004 640117B 640014 640017B 640117 OH195EA OH195XA OHH45 OHH50 OHH55 OHH60 OHH65 Engine Lawn Mower

Pin on Papadukes Board

Pin on Papadukes Board

Tecumseh 10 Hp Engine Parts Diagram 10 Hp Engine Parts ...

Tecumseh 10 Hp Engine Parts Diagram 10 Hp Engine Parts ...

Tecumseh Power Company OHH60-71101C 143-986001 Craftsman ...

Tecumseh Power Company OHH60-71101C 143-986001 Craftsman ...

Illustrated Parts List McCulloch Racing Corporation

Illustrated Parts List McCulloch Racing Corporation

Parts and Repair Resource: Tecumseh Overhead Valve Engine Manual

Parts and Repair Resource: Tecumseh Overhead Valve Engine Manual

5HP Tecumseh Carburetor

5HP Tecumseh Carburetor

Tecumseh Power Company OHH60-71101C 143-986001 Craftsman ...

Tecumseh Power Company OHH60-71101C 143-986001 Craftsman ...

TECUMSEH STARTER 33329 ELECTRIC STARTER FOR SNOW THROWER

TECUMSEH STARTER 33329 ELECTRIC STARTER FOR SNOW THROWER

5.5 HP Single-Direction Plate Compactors

5.5 HP Single-Direction Plate Compactors

Craftsman 143986501 lawn & garden engine parts | Sears ...

Craftsman 143986501 lawn & garden engine parts | Sears ...

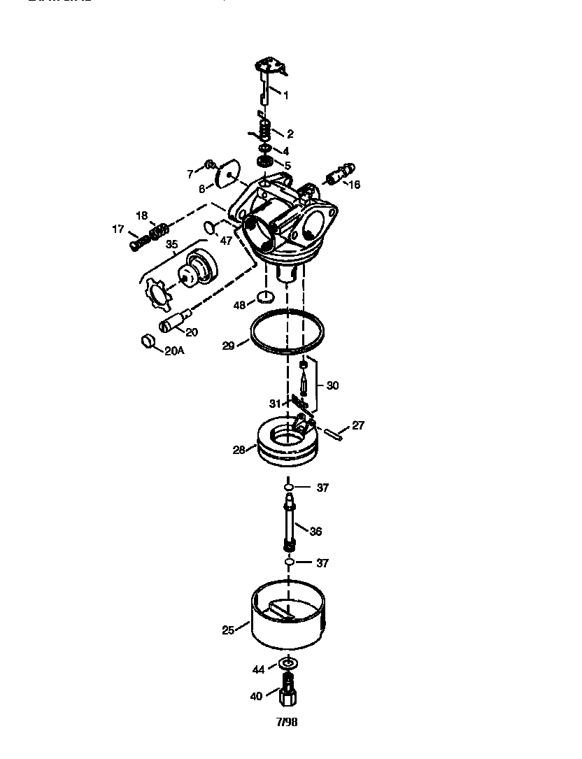
Tecumseh OHH60-71106C 71106C-OHH60 Parts Diagram for Engine ...

Tecumseh OHH60-71106C 71106C-OHH60 Parts Diagram for Engine ...

Tecumseh OHH45-26001A Parts Diagram for Engine Parts List #2

Tecumseh OHH45-26001A Parts Diagram for Engine Parts List #2

Carburetor For Tecumseh OHH50 OHH55 OHH60 OHH65 5HP 6HP OHH ...

Carburetor For Tecumseh OHH50 OHH55 OHH60 OHH65 5HP 6HP OHH ...

Tecumseh OH195SA-72560G 4-Cycle Horizontal |PartsWarehouse

Tecumseh OH195SA-72560G 4-Cycle Horizontal |PartsWarehouse

Tecumseh Quick Reference Service Information | Manualzz

Tecumseh Quick Reference Service Information | Manualzz

I need a picture or diagram of the correct the governor ...

I need a picture or diagram of the correct the governor ...

TECUMSEH OHV155-204509E PARTS LIST Pdf Download | ManualsLib

TECUMSEH OHV155-204509E PARTS LIST Pdf Download | ManualsLib

276000406 Sea-Doo Intercooler. - AdeptPowersports

276000406 Sea-Doo Intercooler. - AdeptPowersports

Parts and Repair Resource: Tecumseh Quick Facts Reference and ...

Parts and Repair Resource: Tecumseh Quick Facts Reference and ...

Briggs & Stratton Power Products_DEL_26072017021729 1429 ...

Briggs & Stratton Power Products_DEL_26072017021729 1429 ...

0 Response to "38 Tecumseh Ohh60 Parts Diagram"

Post a Comment

Iklan Atas Artikel

Iklan Tengah Artikel 1

Iklan Tengah Artikel 2

Iklan Bawah Artikel