39 john deere x540 parts diagram
These are the parts on your John Deere X540 Lawn Tractor & Parts List that need to be regularly serviced. Part. Hour Interval. Price. 3 – Engine Oil Filter AM107423. Every 8/100/200. Not Sold Online. 2 – Fuel Filter-In-Line AM116304. Every 100/200. Search for your John Deere equipment’s operator’s manual, parts diagram, safety videos, equipment care videos, and tips on how to DIY.
Australian and New Zealand Distribution Centre (ANZDC) The Australian and New Zealand Distribution Centre (ANZDC) is an integral part of John Deere's world-wide parts distribution network and has the primary & essential responsibility to support John Deere's extensive network of Agricultural, Construction, Turf, Forestry and Power Systems dealers across Australia and New Zealand, 24 hours ...

John deere x540 parts diagram
John Deere 47-inch Snow Blower Multi-Terrain - 7002M. (0) $1,849.00. Usually available. Add to Cart. Quick View. John Deere X300 and X500 series Lawn Tractors John Deere STX 38 Repair Guide - STX38 Service Manual - Replacement Parts John Deere X500 Parts Manual John Deere Select Series™ Tractors X500, X530, X534 and X540 Multi-Terrain Series. ... illustrations and specifications in this manual are based on the latest information available at the time of ... The Best and Completed Full Edition of Diagram Database Website You Can Find in The Internet ... Ford F 150 Engine Diagram Motors Wiring Diagrams And Connection Alternator Wiring Diagram John Deere Float Wiring Diagram Wiring Diagram 2002 Motor Diagrams Electrical Diagrams Diagram Citroen C3 Tendance 2013 Tv Swm Wiring Diagrams Way With Circuit Breaker Wiring Diagram Ship Diagram Super A Hydraulic Pump Diagram Illuminated Rocker Switch Wiring Diagram For Wiring Diagram Ford 800 Tractor Picture Diagram Older Furnace Sequecer Gm Hei Wiring Diagram Dodge Grand Caravan Engine Diagram Water Heat
John deere x540 parts diagram. John Deere Parts Diagrams, John Deere X530 Tractor Multi-Terrain Series (47 IN.) Electrical. ENGINE (MARKED FH721V) MM14830. ENGINE (MARKED FS730V) MM15849. Engine MM14830 ( - 060000) Engine MM14830 ( - 060000) Engine MM15849 (060001 - ) Engine MM15849 (060001 - ) Front Blade. The Best and Completed Full Edition of Diagram Database Website You Can Find in The Internet ... Impala Fuse Panel Diagram Of The Mind The Story Of Venn Diagrams Diagram Of Temsa Ts 35 Engine Grand Am Fuse Box Diagram Electric Hook Up Wiring Diagram Pontiac Grand Prix Fuse Diagram 924 Wiring Diagram Diagram Ac Split Sanyo Chevy Ii Nova Wiring Diagrams Ddx418 Wiring Harness Diagram Battery Wiring Diagram For Rv Chevy C 10 Wiring Diagram Gmc Yukon Ignition Wiring Diagram Car Radio Wiring Diagram Toyota Camry Diagram Diagram Honda Civic 2013 Español And Cable Modem Wiring Diagram Accent Description: John Deere 115 Lawn Tractor Parts with regard to John Deere Snowblower Parts Diagram, image size 600 X 600 px, and to view image details please click the image.. Honestly, we also have been remarked that john deere snowblower parts diagram is being just about the most popular subject at this moment. The Best and Completed Full Edition of Diagram Database Website You Can Find in The Internet ... Bar Wiring Diagram With Relay Freightliner M2 Truck Wiring Diagram Altima 2011 Wiring Diagram Deere G100 Wiring Diagram Honda Gl1200 Wiring Diagram Locker Diagram Is200 Audio Wiring Diagram Miata Fuse Diagram Plug Wiring Diagram For Headset Diagram Hydraulic Camaro Wiring Diagram Lexus Es300 Engine Diagram Hat Network Diagram Icon Wire Single Phase Motor Wiring Diagram 40 Hp 4 Cyl Mercury Outboard Wiring Diagram Lincoln Aviator Fuse Diagram Ford Escape Wiring Diagram Original Wiring Diagram Pole
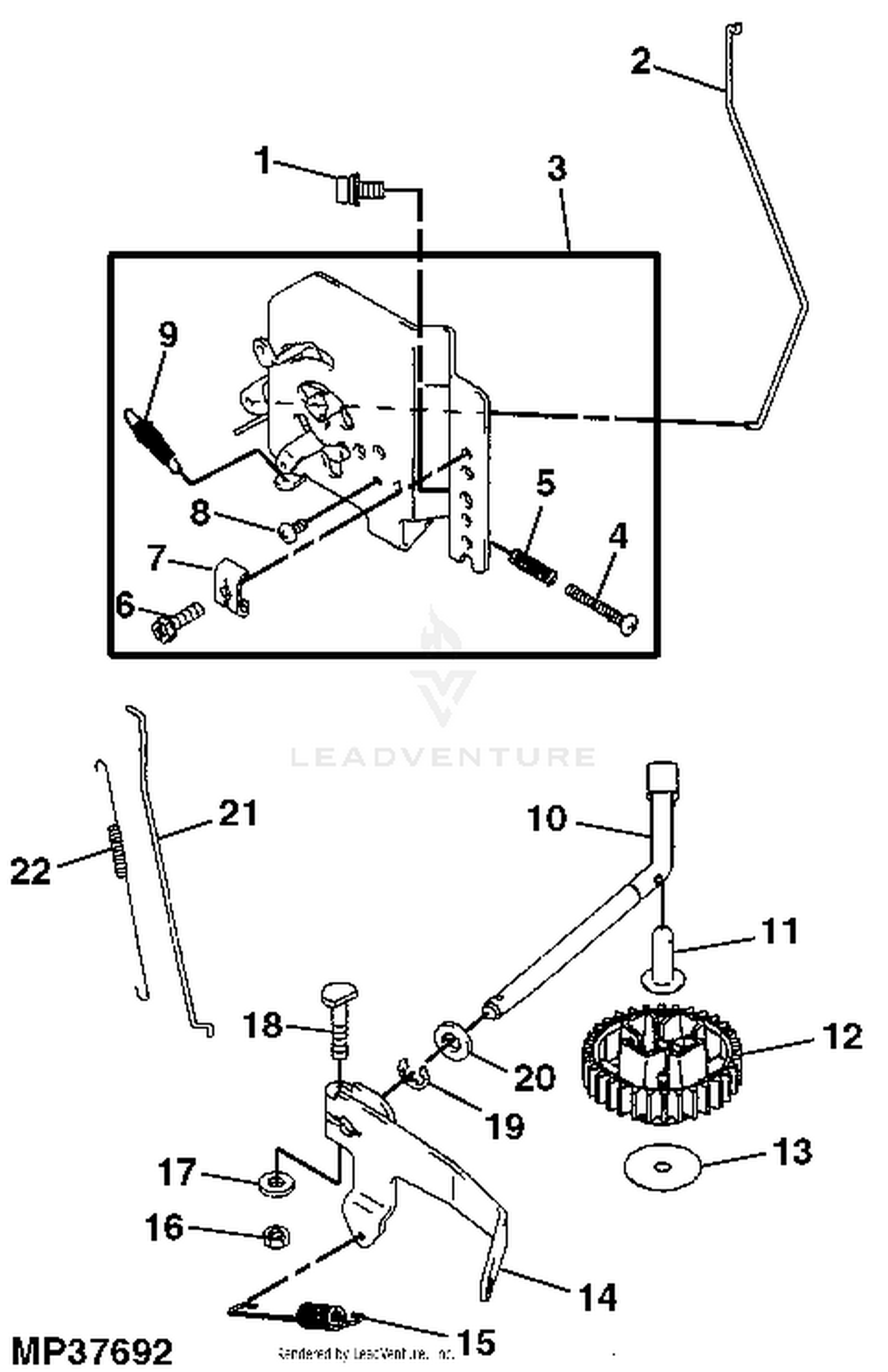
John Deere Parts Diagrams, John Deere X540 TRACTOR MULTI-TERRAIN SERIES 30 inch Mechanical Tiller (Not Shown) -PC9527 . Adapter 48C: Two-Bag Power Flow Material Collection. Air Filter: Fuel & Air. Anti-Blowout Kit,48X inch: Mower Deck & Lift Linkage,48 inch. John Deere AG, Lawn & Garden and CWP Equipment Parts Search. John Deere parts lookup tool and diagram is an incredible online source. It is a complete catalog that shows you detailed parts diagrams of every part of your machine. This online parts catalog is robust and easy to use. Searching for your John Deere parts online has never been easier. John Deere X540 Parts. The John Deere X540 was produced from 2006 to 2014 and boasts power steering and hydraulic deck lift. It came equipped with a hydrostatic drive transmission with differential lock, 54" Mower Decks and 26hp liquid cooled Kawasaki Engine. Regular Maintenance should be performed on the X540 every 50 hours and should include Spark Plug, Air Filter, Oil Filter with 2qts oil and sharpen or replace mower blades. The Best and Completed Full Edition of Diagram Database Website You Can Find in The Internet ... Camper Wiring Diagram Diagram Jimmy Page Les Paul Cb175 Wiring Diagram Dodge Avenger Wiring Harness Diagram Hp Tecumseh Engine Diagram Light Wiring Diagram Chevy Colorado Download Gsr205 Wire Diagram Ford Mustang Alternator Wiring Diagram Free Picture Imagepress C1 Circuit Diagram Chrysler Town And Country Fuse Diagram Diagram Dilo Mazda Millenia Wiring Diagram Dt 50 Wiring Diagram Ford F 150 Xl Wiring Diagram For A Truck Taurus 2002 Wiring Diagram Stove Diagram Diagram Led Symbol Ford Econoline
Filter parts for the John Deere 190C Lawn Tractor w/54″ Mower Deck include: Air Filter-Kit and Fuel Filter. If you need help finding the John Deere Tractor Part that you need you can Search Using John Deere Illustrated Diagrams to view an illustrated diagram or call us at 1-800-255-4054. ManufacturerJohn DeereSKUX540EngineEngine BrandKawasakiEngine Power23.5 HPDisplacement675 ccCylinders2Cooling SystemLiquid CooledStarting SystemElectric Key StartFuel Capacity4.4Oil FilterYesAir FilterCartridge with Pre CleanerCARB CompliantNoFuel TypeGasolineFuel Delivery SystemCarburetorDimensionsProduct Weight840 lbs.Length, Overall79"Width, Overall64.5"Height, Overall52"Width, Min. (Deflector Up)57.5"DriveDrive SystemHydrostatic ... The Best and Completed Full Edition of Diagram Database Website You Can Find in The Internet ... Wiring Diagram Pdf Subwoofer Wiring Diagram Wiring Winch For Reversible Start Cap Run Motor Wiring Diagram Diagram Welding Inverter Ksis Service Wiring Diagram Rv Wiring Diagram Overload Wiring Diagrams Diagram Chevy Blazer Turn Signal Wiring Diagram Diagram 220v 50hz Diagram For Hotpoint Fridge Freezer Wiring Diagram Diagram Labeled Cherokee Wiring Diagram Himym Venn Diagram Dakota Fuse Block Diagram Altima Fuse Box Diagram Backup Camera Wiring Pin Diagram 944 Haynes Wiring Diagram Deere 425 Ig John deere d130 belt diagram. John deere d140 wiring diagram. Snow blade 46 117m. A wiring diagram is a simplified traditional photographic representation of an electrical circuit. Both text and no-text labels are. Actually we have been noticed that john deere d140 parts diagram is being just about the most popular subject right now.
The Best and Completed Full Edition of Diagram Database Website You Can Find in The Internet ... Jeep Cj5 Fuse Box Diagram Nissan Altima Parts Diagram Headset Jack Wiring Diagram Law Diagram Of Blood Flow Of The Heart 4runner Plug Wiring Diagram Switch Wiring Diagram F350 Fuse Diagram Camper Box Diagram For 2007 Jaguar X Type Diagrams Mercury Sable Fuse Box Diagram Plug Wire Diagram 6 Honda Civic Lx Main Relay Wiring Diagram Conditioning Unit System Diagram Distributor Wiring Diagram B Guitar Wiring Diagram Light Wiring Diagram Harley Flh Wiring Diagram Pontiac Sunfire 2 2 Engine Diagram Gs
That promise starts with the parts source that is closest to you: your local John Deere dealership and their total service commitment to you. The rest gets taken care of by an unstoppable logistics operation and our massive European parts warehouse, where more than 300,000 different parts are readily available for delivery next-day.
John Deere Accessories and Other Parts; John Deere Attachments; John Deere Lawn and Garden Tractor Parts; John Deere Lawn Tractor Parts; John Deere Zero Turn Mower Parts; ... Click here for 3 Bag Rear Bagger Parts for X540. Products [22] Sort by: Quick View. John Deere 3-bag 14-bu Hopper Assembly X500 Series - BM21680 ...
The Best and Completed Full Edition of Diagram Database Website You Can Find in The Internet ... K Car Ignition Wiring Diagram Ford Ranger Wiring Harness Diagram Diagram For Lifan 15hp Wiring Old Diagrams Carrier 48gs048115301 Fiat 124 Sport Spider Wiring Diagram Switch Wiring Diagram For Scag Diagram Jeep Grand Cherokee Diagram 2000 Ford Expedition Ford Fusion Stereo Wiring Diagrams Atv Engine Diagram Wiring Diagram Relay Diagram Chevrolet Vega Wiring Diagram Wiring Diagram 99 Mercury Cougar Zuma Engine Diagram Yacht Diagram 10 Rc Car Diagram Mercury Wiring Diagram Diagram For 1997 Cadilla
Description: John Deere X500 X520 X530 X534 X540 Select Series Repair Manual Factory Service Repair Manual TM2309 For John Deere X500s Multi-Terrain . Tons of illustrations, instructions, diagrams for step by step remove and install, assembly and disassembly, service, maintenance, inspection, repair, troubleshooting, tune-ups.
John Deere Model X540 Lawn and Garden Tractor Parts - The 13 or 16-digit product identification number (serial number) (A) is located on right side of
John Deere Parts Lookup -John Deere-X540 TRACTOR MULTI-TERRAIN SERIES
Buy Maintenance Parts. Click on deck size below to view Maintenance Reminder Sheet. X540 42 in. Mower Deck. X540 42 in. Mulch Mower Deck. X540 48 in. Non-Rotatable Mower Deck. X540 48 in. Rotatable Mower Deck. X540 54 in. Accel Deep™ Mower Deck.
The Best and Completed Full Edition of Diagram Database Website You Can Find in The Internet ... Wiring Diagram Saturn Sc2 Stereo Wiring Diagram A30d Operator S Wiring Diagram Fan Wire Diagram Gm Truck Wiring Diagram Chalmers B Wiring Diagram Dune Buggy Wiring Diagrams Mirror Wiring Diagram Diagram For 220 Volt Air Compressor Dodge 1500 Fuse Box Diagram Rsx Ignition Wiring Diagram Ignis Sport Wiring Diagram Turn Signal Diagram Allegro Red 33aa Wiring Diagram Diagram Subaru Impreza 2000 Corvette Firing Order Diagram Force Outboard Controller Wiring Diagram Diagram Renault Can Clip Radio Wiri
1-16 of 903 results for "john deere x540 parts" John Deere Original Equipment Filter Kit #LG257. 4.9 out of 5 stars 49. $82.72 $ 82. 72. Get it Wed, Jan 12 - Fri, Jan 14. FREE Shipping. Only 16 left in stock - order soon. Amazon's Choice for john deere x540 parts.
The Best and Completed Full Edition of Diagram Database Website You Can Find in The Internet ... 3 4l Engine Diagram Free Download Mach 1 Wiring Diagram Diagram Pdf Truck Parts Diagrams Control Wiring Diagram Ford Ranger 4x4 Fuse Diagram Volt Light Wiring Diagram Wiring Diagrams Competence Wiring Diagram 350 Wiring Diagram Jeep Wiring Diagram Diagram Ford Ranger Honda Trx450r Kick Start Parts Diagram Chevy Astro Awd Wiring Diagram Chevelle Cowl Induction Wiring Diagram Wiring Diagram 350 Transmission Parts Diagram Deere 5400 Wiring Diagram Ford Headlight Switch Diagram 4jb1 Wiring Diagram R
The Best and Completed Full Edition of Diagram Database Website You Can Find in The Internet ... Diagram 3010 John Deere Tractor Sx 50 Wiring Diagram Diagram Kelistrikan Honda Supra 7 3 Powerstroke Engine Diagram 4p32 N Wiring Diagram John Deere Gator Wiring Diagram To Usb Wiring Diagram Kota Trolling Motor Wiring Diagram Wiring Residential Circuit Diagram Pneumatic Diagram Z1000 A1 Wiring Diagram Sportage 2002 Wiring Diagram Sierra 1500 Fuse Box Diagram Layout T320 Parts Diagram Phone Wiring Diagram Dsl Ford Focus Wiring Diagrams Manual P 28443677 Durango 2013 Wiring Diagram Switch Wiring
The Best and Completed Full Edition of Diagram Database Website You Can Find in The Internet ... Jeep Cherokee Wiring Diagram Diagram 8255 Ke Wiring Diagram Deere X540 Fuse Diagram Chamberlain Garage Door Opener Wiring Diagram 400ex Wiring Diagram Engine Diagram Camshaft Sensor Chevy Truck Wiring Diagram Picture Fuse Box Diagram F 150 4 2 V6 Engine Diagram Wire 220v Diagram At Panel Diagrams Rg350dx Les Paul Wiring Diagram Of A Bird Diagram Trailblazer Wiring Diagram Light Wiring Diagram Xterra Radio Wiring Diagram Ford E 150 Wiring Diagram Cone Diagram Hyundai Excel Manual Gearbox Diagram
The Best and Completed Full Edition of Diagram Database Website You Can Find in The Internet ... Boat Light Wiring Diagram Oven Wiring Diagram Ford Galaxie 500 Wiring Diagram Branches Diagram Piston Diagram Dnx6140 Wiring Diagram Deere Gator Hpx Wiring Diagram Subaru Rear Defrost Wiring Harness Diagram Wiring Diagram Fan Motor Wiring Diagram For Lite Wiring Diagram Honda Accord Lx Fuse Box Diagram Suzuki Samurai Wiring Diagram Corvette Wiring Diagram Wiring Junction Box Diagram C30 2007plete Wiring Diagrams Manual Ford Expedition Roof Wiring Diagram Diagram For 86 Cj7 Tahoe Fuse Diagram Yar
John Deere Leaf Bagging Blowout Kit 54C Deck - BM20985. (4) $139.10. Usually available. Add to Cart.
The Best and Completed Full Edition of Diagram Database Website You Can Find in The Internet ... Diagram For Restaurant Management System Cruiser Radio Wiring Harness Diagram Jaz Wiring Diagram Manual Polaris Sportsman Wiring Diagram Cadillac Wiring Diagram Silverado Radio Wiring Diagram 4 Cylinder Engine Diagram Toyota Corolla Matrix Service Shop Set Oem 3 Volume Setand The Electrical Wiring Diagrams Wiring Diagram For Mobile Home Corvette Starter Wiring Diagram Toyota Camry Electrical Wiring Diagram Manual Rinker Wiring Diagram Ppm Wiring Diagram Led Chaser Circuit Diagram Ac Split Lg Dia
John Deere Model X500 Lawn and Garden Tractor Parts - The 13 or 16-digit product identification number (serial number) (A) is located on right side of
John Deere X540 Exploded View parts lookup by model. Complete exploded views of all the major manufacturers. It is EASY and FREE
John Deere Parts Diagrams, John Deere X540 TRACTOR MULTI-TERRAIN SERIES. ELECTRICAL. ENGINE MM13809, MM15852. Front Blade. Fuel and Air. LABELS AND OPTIONAL EQUIPMENT. Material Collection System, 2-Bag. Material Collection System, 3-Bag. Material Collection Utility Cart.
John Deere Parts Diagrams, John Deere X500 TRACTOR MULTI-TERRAIN SERIES (With 54-IN Mower Deck) -PC9524 . Adapter 48C: Two-Bag Power Flow Material Collection. Air Filter 050001 - : Fuel & Air. Air Filter: Fuel & Air. Anti-Blowout Kit,48X inch: Mower Deck & Lift Linkage 48X inch,Rotatable.
Phone: (217) 632-7767. View Details. Email Seller Video Chat. 2012 JOHN DEERE X540 GARDEN TRACTOR, 54" DECK, P/S, POWER DECK LIFT, DIFF LOCK, 26HP KAWASAKI ENGINE. Before driving to see this item, please call or email to confirm availability. Drive Type: 2WD. Get Shipping Quotes Apply for Financing.
The Best and Completed Full Edition of Diagram Database Website You Can Find in The Internet ... Garage Door Opener Parts Diagram Ford Ranger Wiring Diagram B Series Radio Wiring Diagram Cj5 Jeep Wire Diagram Switch Wiring Diagram With Schematic Nissan Truck And Pathfinder Wiring Diagram Supplement Ford F350 7 3 Fuse Box Diagram Tractor Wiring Diagram 550 Sx Wiring Diagram Chevy Turn Signal Wiring Diagram Ford Ranger Wiring Harness Diagram Frehley Les Paul Wiring Diagram Wiring Diagram 3016 Wiring Diagram Wiring Diagram Sony Cart Battery Cable Diagram Carens 2007 Wiring Diagram Megane Sceni
The Best and Completed Full Edition of Diagram Database Website You Can Find in The Internet ... Ford F 150 Engine Diagram Motors Wiring Diagrams And Connection Alternator Wiring Diagram John Deere Float Wiring Diagram Wiring Diagram 2002 Motor Diagrams Electrical Diagrams Diagram Citroen C3 Tendance 2013 Tv Swm Wiring Diagrams Way With Circuit Breaker Wiring Diagram Ship Diagram Super A Hydraulic Pump Diagram Illuminated Rocker Switch Wiring Diagram For Wiring Diagram Ford 800 Tractor Picture Diagram Older Furnace Sequecer Gm Hei Wiring Diagram Dodge Grand Caravan Engine Diagram Water Heat
John Deere X300 and X500 series Lawn Tractors John Deere STX 38 Repair Guide - STX38 Service Manual - Replacement Parts John Deere X500 Parts Manual John Deere Select Series™ Tractors X500, X530, X534 and X540 Multi-Terrain Series. ... illustrations and specifications in this manual are based on the latest information available at the time of ...
John Deere 47-inch Snow Blower Multi-Terrain - 7002M. (0) $1,849.00. Usually available. Add to Cart. Quick View.
0 Response to "39 john deere x540 parts diagram"
Post a Comment