41 john deere 345 mower deck parts diagram
48C mower deck parts for 345 - John Deere Parts and More Sunbelt XHT Mower Blade for 48C John Deere Deck - B1JD1044. (1) $12.22. Usually available. Add to Cart. Quick View. 345 Lawn Tractor Parts - Weingartz - lawn mower parts This quick parts reference guide will provide you with the most common John Deere 345 Lawn Tractor Parts 48C Mower Deck. These John Deere Lawn Tractor Parts may include: Tune Up Kit, Spark Plug, Mower Blades, Traction Drive Belt, Transmission Belt, Mower Drive Belt, Batery, and Air Filters.
John Deere 345 Mower Deck for sale - eBay John Deere Mower Deck Spindle AM121342 325 335 345 355D New OEM Lawn Mower. $69.95. $9.95 shipping.

John deere 345 mower deck parts diagram
John Deere Parts Diagrams, John Deere Z345M ZTrak Mower Z345M ZTrak Mower (W/ 42 inch ... Buy Genuine OEM John Deere parts for your John Deere Z345M ZTrak Mower Z345M ZTrak Mower (W/ 42 inch A Deck) -PC13090 and ship today! Huge in-stock inventory of OEM John Deere parts. 42-inch Accel Mower Deck Parts for John Deere Z345R Predator2 Mower Blade for 42A Accel Deep Deck - A-B1PD5022. (2) $21.48. Usually available. Add to Cart. Quick View. John Deere Mower Deck Belt Installation - john deere 108 mower deck belt adjustment ... John Deere Mower Deck Belt Installation - 17 images - john deere lt166 belt diagram replacing mower drive belt, john deere leaf bagging blowout kit 48c deck, craftsman 42 mower deck parts diagram automobile, john deere 42 inch mower deck drive belt and idler kit,
John deere 345 mower deck parts diagram. John Deere GX345 Lawn Tractor Parts 54 Mower Deck - Weingartz This quick parts reference guide will provide you with the most common John Deere GX345 Lawn Tractor Parts 54 Mower Deck. These John Deere Lawn Tractor Parts may include: Tune Up Kit, Spark Plug, Mower Blades, Traction Drive Belt, Transmission Belt, Mower Drive Belt, Battery, and Air Filters. john deere 48 mower deck parts diagram | eurekaconsumer.com John deere 345 48 mower deck. rekloos.us. Save this Book to Read john deere 345 48 mower deck parts diagram PDF eBook at our Online Library. John Deere Parts Diagram & Parts Search • John Deere Parts Catalog - Green Farm Parts John Deere AG, Lawn & Garden and CWP Equipment Parts Search. John Deere parts lookup tool and diagram is an incredible online source. It is a complete catalog that shows you detailed parts diagrams of every part of your machine. This online parts catalog is robust and easy to use. Searching for your John Deere parts online has never been easier. ARIMain - WEINGARTZ Find parts for your john deere main wiring harness 345 - 070000: electrical with our free parts lookup tool! Search easy-to-use diagrams and enjoy same-day shipping on standard John Deere parts orders.
PDF John Deere 345 Wiring Diagram Kindly say, the john deere 345 wiring diagram is universally compatible with any devices to read John Deere WiringHow a Lawn Tractor Ignition Switch Works - Test, Diagnose, Fix Riding Mower, Starting System Wiring Diagram - Part 1 Problems with the John Deere 345 Taking the deck off a John Deere 345 and similar tractors How To Replace ARIMain - WEINGARTZ Estimated shipping time is 7 days, we apologize for the inconvenience. Lawn mowers in stock. Maximize your mowing experience with these world-class machines. I like the easiness of ordering from your site. It indicates what items are in stock and the parts diagrams have easy access. Shipments are always on time. - Chuck B. PDF John Deere 345 Lawn Mower Repair Manuals Description: John Deere 648M Quik Trak Mower Parts intended for John Deere 345 Parts Diagram, image size 410 X 410 px, and to view image details please click the image.. Truly, we have been remarked that john deere 345 parts diagram is being one of the most popular subject at this moment. John Deere Parts Diagrams, John Deere GX345 Garden Tractor - green-parts-direct.com John Deere Parts Diagrams, John Deere GX345 Garden Tractor. Convertible Mower Deck 42-Inch. Convertible Mower Deck 48-Inch. Convertible Mower Deck 54-Inch. ELECTRICAL. ENGINE AM135052. Front Blade 48-Inch. FUEL AND AIR. Hydraulics.
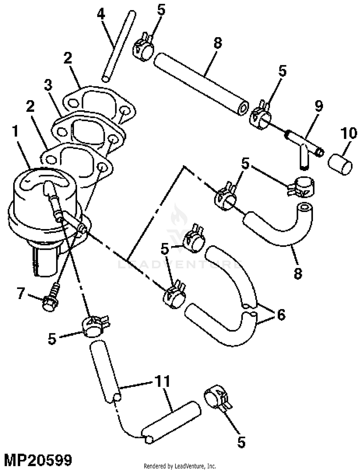
John Deere Parts Diagrams, John Deere 345 Lawn & Garden Tractors Without Mower Deck ... John Deere Parts Diagrams, John Deere 345 Lawn & Garden Tractors Without Mower Deck -PC2428. Air Filter & Mounting Parts 325 FC540V: FUEL AND AIR. Air Filter 325 FH531V: FUEL & AIR. Air Filter 335: FUEL & AIR. Air Filter 345: FUEL & AIR. ARIMain - GREENPARTS - John Deere Parts and John Deere Lawn Mower Parts Buy Genuine OEM John Deere parts for your John Deere GX345 Lawn & Garden Tractor 54-IN Convertible Mower Deck -PC9078 and ship today! Huge in-stock inventory of OEM John Deere parts. John Deere Mower Deck Parts Diagram - Automotive Parts Diagram Images Description: John Deere L120 Deck Rebuild - Youtube with regard to John Deere Mower Deck Parts Diagram, image size 1280 X 720 px, and to view image details please click the image.. Here is a picture gallery about john deere mower deck parts diagram complete with the description of the image, please find the image you need. John Deere 345 Lawn Tractor Parts 54 Mower Deck - weingartz.com John Deere 345 Lawn Tractor Parts 54 Mower Deck. NEED HELP FINDING PARTS? CALL US AT (855) 669-7278. John Deere 345 Lawn Tractor Parts for 38 Mower Deck Quick Reference Guide. Click the part number below to view and order John Deere 345 Lawn Tractor Parts for 38 Mower Deck, or search illustrated diagrams to determine the part you need.
John Deere Model 345 Lawn and Garden Tractor Parts Click here for 44-inch Piranha Mulching Mower deck parts for 345. Click here for model 48C mower deck parts for 345. Click here for model 54 mower deck parts for 345. Click here for 42-inch Snow Thrower Parts for 345. Click here for 48-inch Front Blade Parts for 345. Click here for 30-inch Mechanical Drive Tiller Parts for 345.
John Deere 345 Parts Diagrams - Lawn Mower Parts John Deere 345 Parts Diagrams. SWIPE SWIPE. Belts. Electrical Components. Filters. Hitch and Implement Components. Seats and other Components.
PDF John Deere Model 345 Lawn Tractor Manual Description: John Deere 648M Quik Trak Mower Parts intended for John Deere 345 Parts Diagram, image size 410 X 410 px, and to view image details please click the image.. Truly, we have been remarked that john deere 345 parts diagram is being one of the most popular subject at this moment.
John Deere 325 Lawn Tractor Parts Diagram | Tractor Parts Diagram with John Deere 345 ... That photograph (John Deere 325 Lawn Tractor Parts Diagram | Tractor Parts Diagram with John Deere 345 Parts Diagram) earlier mentioned is usually branded having: john deere 345 48 deck parts diagram, john deere 345 48 mower deck parts diagram, john deere 345 54 inch mower deck parts diagram, . posted by simply CARPNY TEAM on June, 12 2016.
John Deere Model GX345 Lawn and Garden Tractor Parts Click here for model 44M mower deck parts for GX345. Click here for model 48C mower deck parts for GX345. Click here for model 54C mower deck parts for GX345. Click here for 42-inch Snow Thrower Parts for GX345. Click here for 48-inch Front Blade Parts for GX345. Click here for 30-inch Mechanical Drive Tiller Parts for GX345.
John Deere Models 325 335 345 355D Parts - ShopGreenDealer John Deere Models 325 335 345 355D Parts. ... John Deere Leveling Gauge for Mower Deck Blade Height - AM130907 (2) $7.15. Add To Cart. Quick View. John Deere Front Grille Fits 325 335 345 355 GX325 GX335 GX345 GX355 (1) $93.16. Add To Cart.
PDF John deere 345 mower deck parts diagram John deere 345 mower deck parts diagram If you're in the market for a new John Deere tractor or are looking to sell one that you have on your farm, you'll want the most relevant pricing information that you can find. Read on to learn more about how to value a John Deere tractor on your own.Get As Much Information About Your John Deere As ...
54 mower deck parts for 345 - John Deere Parts and More - Parts for John Deere Lawn ... John Deere Mower Deck Parts; John Deere Tillage Parts; Fleetguard Filters; More Info. John Deere Online Parts Catalog; Return Form; Parts Quote; Customer Feedback; ... Click here for model 54 mower deck parts for 345. Products [34] Sort by: Quick View. John Deere 3-inch Deck Roller - M113955 (15) $6.44. Usually available. Add to Cart ...
John Deere 997 Z Trak Mower Parts for John Deere 345 Parts Diagram | Automotive Parts ... This kind of image ( John Deere 997 Z Trak Mower Parts for John Deere 345 Parts Diagram) previously mentioned can be classed having: john deere 345 48 deck parts diagram, john deere 345 48 mower deck parts diagram, john deere 345 54 inch mower deck parts diagram, . published through CARPNY TEAM from June, 12 2016.
Kawasaki Fd590V Parts List And Diagram - As05 : Ereplacementparts within John Deere ... This particular picture (Kawasaki Fd590V Parts List And Diagram - As05 : Ereplacementparts within John Deere 345 Parts Diagram) preceding is actually labelled having: john deere 345 48 deck parts diagram, john deere 345 48 mower deck parts diagram, john deere 345 54 inch mower deck parts diagram, . published simply by CARPNY TEAM at June, 12 ...
John Deere 345 Parts Diagram - Automotive Parts Diagram Images Description: John Deere 648M Quik Trak Mower Parts intended for John Deere 345 Parts Diagram, image size 410 X 410 px, and to view image details please click the image.. Truly, we have been remarked that john deere 345 parts diagram is being one of the most popular subject at this moment. So we attempted to identify some terrific john deere 345 parts diagram graphic to suit your needs.
John Deere Mower Deck Belt Installation - john deere 108 mower deck belt adjustment ... John Deere Mower Deck Belt Installation - 17 images - john deere lt166 belt diagram replacing mower drive belt, john deere leaf bagging blowout kit 48c deck, craftsman 42 mower deck parts diagram automobile, john deere 42 inch mower deck drive belt and idler kit,
42-inch Accel Mower Deck Parts for John Deere Z345R Predator2 Mower Blade for 42A Accel Deep Deck - A-B1PD5022. (2) $21.48. Usually available. Add to Cart. Quick View.
John Deere Parts Diagrams, John Deere Z345M ZTrak Mower Z345M ZTrak Mower (W/ 42 inch ... Buy Genuine OEM John Deere parts for your John Deere Z345M ZTrak Mower Z345M ZTrak Mower (W/ 42 inch A Deck) -PC13090 and ship today! Huge in-stock inventory of OEM John Deere parts.
0 Response to "41 john deere 345 mower deck parts diagram"
Post a Comment